近日,彭博社援引知情人士消息称(资本市场小作文常用表述方式),月之暗面正处于赴港上市的早期考量阶段,已与中金及高盛就IPO合作事宜展开洽商。
消息人士同时表示,潜在的IPO时间尚不确定,相关讨论仍在推进中,最终也未必会上市。
对于这家刚刚在去年底还声称“短期不着急上市”的公司来说,这一传闻多少有些“打脸”的意味,当然,对于创业者来说,里子永远比面子更重要。
毕竟就在几个月前,创始人杨植麟还在内部信中明确表示,“相比于二级市场,我们判断还可以从一级市场募集更大量资金,所以我们短期不着急上市”。
点击即可详见文章:“90后”创始人自曝:现金持有量超100亿元!
与此月之暗面仍在积极拓展私募融资渠道。消息称,在今年早些时候完成超过7亿美元融资后,公司正商议新一轮融资,规模至多10亿美元,此轮增资后公司估值将达到约180亿美元。

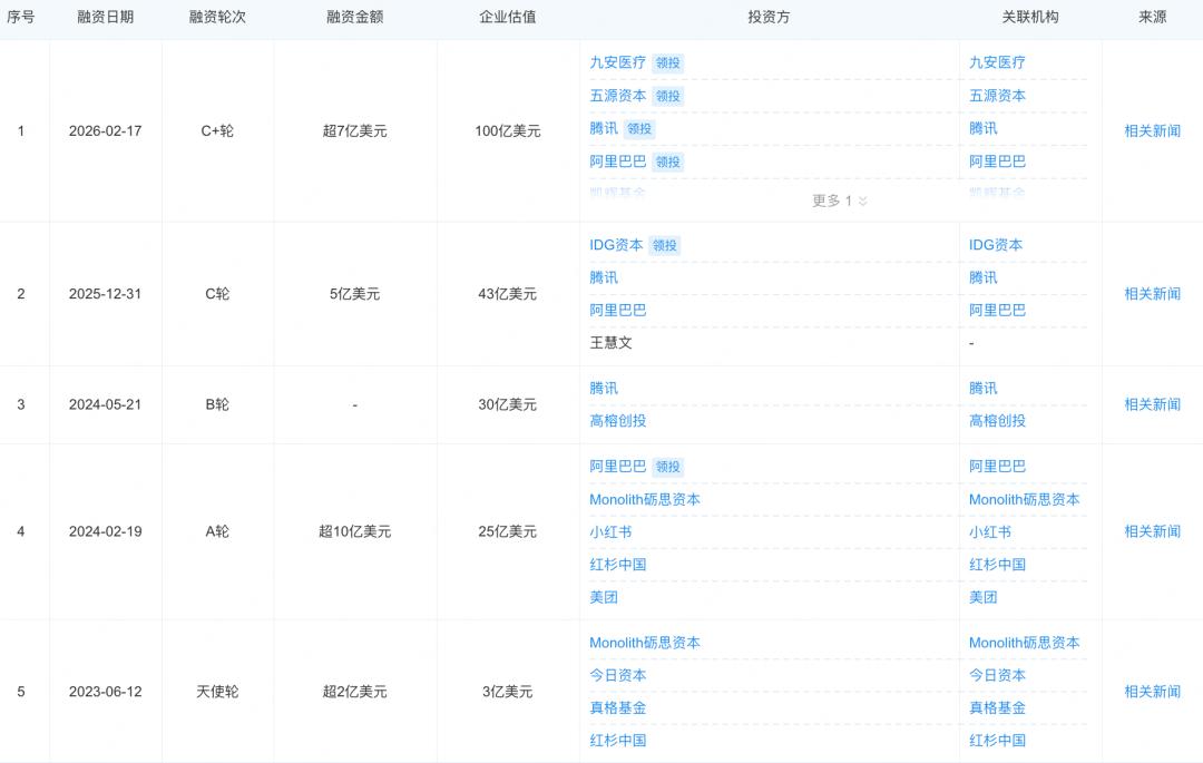
月之暗面融资情况(来源:企查查)
180亿美元的估值是什么概念?
对比一下:就在几个月前,月之暗面完成C轮融资时,估值还只有43亿美元。短短时间内,估值翻了三倍多。
如果说2025年是月之暗面在技术上的沉淀之年,那么2026年就是它在商业化上的爆发之年。
今年1月,月之暗面推出了自研大模型Kimi K2.5。这款模型带来的不仅是技术上的提升,更是一场商业化的狂欢。
据光锥智能报道,自1月27日发布以来,Kimi K2.5在近20天内实现的收入已超过2025年全年的总和。这背后的推手,是一只名叫“OpenClaw”的龙虾。
OpenClaw是一款开源的桌面级Agent工具,能够通过自然语言界面实现复杂任务的自主任务执行。它在GitHub上的星标已接近25万,超越了所有GitHub开源软件项目的星标数,成为史上最受欢迎的开源项目之一。
这只“龙虾”是个不折不扣的Token消耗黑洞。有用户反映,做一个小爬虫测试,就花了2900万Token;有人跑一天OpenClaw,Token消耗高达5000万。
而月之暗面恰恰抓住了这一波红利。
OpenRouter数据显示,Kimi K2.5在Tokens消耗排名中位列第二,环比增长高达23357%。其中近四分之一的调用量来自OpenClaw生态。月之暗面也是首个被OpenClaw官方宣布开放免费额度的模型厂商。
迅速的反应和激进的策略,让月之暗面成为这波“龙虾盛宴”中的最大受益者之一。其海外收入快速反超国内,K2.5模型发布后近20天的API收入超过2025年全年总和。
根据杨植麟去年底披露的信息,月之暗面已完成新一轮5亿美元融资,账面现金储备达100亿元人民币。加上今年早些时候完成的超过7亿美元融资,月之暗面账上的现金储备已相当可观。
灵魂发问来了,既然不缺钱,为什么还要考虑上市?
答案或许藏在同行的表现里。
今年初,智谱与MiniMax相继登陆港股。即便在商业化模型尚不完善、依然面临巨额亏损的情况下,两者的市值依然双双冲破了3000亿港元大关。春节期间,智谱和MiniMax的估值已经能够超过快手、比肩京东。

数据来源:公开查询
二级市场对AI未来潜力的信任,给出了远超传统互联网巨头的估值体系。这种估值的“溢出效应”,无疑让仍在门外的月之暗面眼红。
上市也是一场预期管理。在长期高投入、商业化仍处爬坡阶段的大模型行业中,市场信心本身,正在成为一种需要被精心管理的变量。
上市不仅是为了融资,更是为了锁定估值、稳定预期(稳住投资人)。
月之暗面的“不着急”,或许正在被激烈的竞争所消解。
在“大模型六小虎”中,除了已经“上岸”的智谱和MiniMax,还留在基模牌桌的,大概就只剩下月之暗面和阶跃了。而随着大厂策略的持续激进,竞争压力与日俱增。
字节跳动在2024年中才正式决定全力自研大模型,但此后动作频频。2025年以来,字节豆包模型能力跃迁,不仅在C端通过内部流量打通迅速推高月活,还以低价策略抢占B端市场。
阿里也加快了对C端的布局节奏。2月28日,阿里推出桌面Agent工具CoPaw,面向全球开发者正式开源。阿里云Coding Plan订阅服务新用户首月仅7.9元,价格战一触即发。
腾讯虽然一贯后发制人,但也不甘落后。2月6日,腾讯内测上线了“WorkBuddy”,定位为全场景职场AI智能体桌面工作台。
面对来势汹汹的大厂,月之暗面将筹码押注在了Agent上。杨植麟在内部信中明确表示,将聚焦Agent,“不以绝对用户数量为目标,而是追求智能上限”。
在月之暗面的规划中,下一代正在研发的模型K3,依然是为Agent服务。“垂直整合模型训练和Agent产品taste,让K3成为更‘与众不同’的模型,让用户体验到全新的、其他模型没有定义过的能力。”杨植麟在内部公开信中说。
在很多人看来,杨植麟一直是个技术理想主义者。在2026中关村论坛年会上,他系统阐述了中国AI团队如何通过底层架构的“推倒重建”,打破沿用十年的行业技术标准。

图:公司创始人照片 来源:网络
他坚定认为,“如果模型能力能做到一样的水平,开源会是绝对的胜利。”开源会形成大量应用形成的繁荣生态,最终形成的算力总量很可能显著高于闭源模型。
这种理想主义在实践中面临着现实的考验。API赚钱是一门竞争激烈的生意,无论是价格战、还是竞品的持续迭代,都有可能威胁到月之暗面的API收入。从本周API消耗下降60%的情况来看,这一风险已经显现。
智谱的经验也值得借鉴。2月21日,由于算力消耗激增、资源扩容滞后,智谱GLM-5服务出现排队、响应延迟及卡顿现象,导致其股价一度下跌22%,单日蒸发1000多亿港元。SOTA能力固然重要,但稳定的算力和Token服务同样不可或缺。

数据来源:公开查询
无论月之暗面最终是否选择上市,有一点是明确的:大模型行业的竞争已经进入深水区。
杨植麟在内部信中提出了2026年的第一大战略目标:通过技术改进和进一步Scaling,提升等效FLOPs至少一个数量级,在预训练水平上追平世界前沿模型。
这一目标的实现需要买算力、继续做Infra适配。而现在的月之暗面,要做的就是把手里的钱花在模型上。
上市,或许只是这一过程中的一个节点,而非终点。正如杨植麟所言,“未来我们计划将上市作为手段来加速AGI,择时而动,主动权掌握在我们手中。”
随着大模型竞争核心从模型参数、对话能力转向Agent适配性、商业化效率,这场由OpenClaw引爆的模型厂商估值变革,验证了新的竞争逻辑。Token的消耗量将直接映射为经济产出,成为衡量GDP的新尺度。
对于月之暗面而言,真正的考验才刚刚开始。
