核心要点
- 折叠屏iPhone有望最早于2026年9月惊艳亮相。
- 它可能拥有多个备选名称,如iPhone Fold、iPhone Ultra或iPhone Flip。
- 首款折叠屏iPhone或将采用书本式设计,后续再推出类似Razr的翻盖式设计。
- 近期设计泄露显示,其外观将更宽、更矮,与最初的Google Pixel Fold颇为相似。
- 一位分析师大胆预测,其售价可能在2000至2500美元之间。
多年来,我们不断听闻苹果正在秘密研发折叠屏iPhone的传闻,许多人将其亲切地称为iPhone Fold。过去一年,这类消息如雨后春笋般涌现,从零星泄露逐渐演变为大量爆料,众多迹象表明,这款设备有望在2026年晚些时候震撼登场。
最近的传闻来自爆料界的佼佼者Digital Chat Station,他透露这款折叠屏手机或将被命名为iPhone Ultra;而另一位爆料者Sonny Dickson则提供了疑似模型模具,进一步坐实了iPhone Fold将采用宽矮设计的传闻。
我们获取了更多关于苹果折叠屏手机设计的泄露信息。多数泄露(如Dickson的爆料)均表明,iPhone Fold将采用书本式折叠设计,外观更矮更宽,与最初的Pixel Fold如出一辙,而非像Galaxy Z Fold 7或Pixel 10 Pro Fold那样又高又薄。
据中国媒体UDN的近期报道,iPhone Fold的屏幕或将实现几乎无折痕或完全无折痕的突破。屏幕折痕问题(尤其在早期折叠屏手机上)一直困扰着消费者和评论家,尽管多年来折痕已变得不那么明显,但始终未能彻底消除。即便是三星最先进的Galaxy Z TriFold,也有两条屏幕折痕,每条铰链对应一条。倘若苹果真的找到了将屏幕对折而不留折痕的方法,那无疑将是一项重大突破。
然而,我们尚未从苹果官方听到任何关于折叠屏iPhone的正式消息。
潜在iPhone折叠屏手机模型,包括左侧的翻盖式“iPhone Flip”和右侧的书本式折叠屏,以及底部用于对比的普通iPhone。Zain bin Awais/CNET
折叠屏手机在全球手机销量中占比微乎其微。CNET近期的一项调查发现,64%的受访者表示他们不想要折叠屏手机。然而,倘若苹果推出折叠屏iPhone,这一局面或将发生翻天覆地的变化。截至4月,IDC分析师预测,倘若iPhone Fold在2026年成功推出,全球折叠屏手机销量将激增19%,而苹果的折叠设备将占据全球约24%的市场份额。
人们对苹果推出折叠屏手机寄予了厚望。倘若传闻属实,我们无需等待太久便能见证苹果的这一壮举。
iPhone Fold规格揭秘
一款可能的书本式折叠屏iPhone设计模型。Zain bin Awais
目前,关于iPhone Fold的确认规格尚无从谈起;苹果甚至未确认该设备的存在或发布计划。因此,由于我们尚不清楚其预期发布年份,预测iPhone Fold的内部规格颇具难度。预计苹果将为其配备最强大的A系列芯片,以及足够的内存来支持两个或三个显示屏(具体取决于其向内还是向外折叠,以及是否需要专用外屏)。
不过,我们对其他规格仍有一些预测,但仅限于传闻中的书本式折叠屏(而非翻盖式)。今年3月,分析师郭明錤预测,较大的折叠屏手机可能配备5.5英寸外屏和7.8英寸内屏。折叠时,其厚度可能为9至9.5毫米,展开时为4.5至4.8毫米。此外,前置摄像头也可能在手机折叠或展开时均可使用,并配备两个后置摄像头。
郭明錤预测,该设备将采用与他当时所称的“超薄iPhone 17”(即iPhone Air)相同的高密度电池单元。然而,这种纤薄设计可能意味着折叠屏手机将放弃Face ID,因此该设备可能最终在侧边按钮中集成Touch ID。
关于硬件的一些传闻也浮出水面。今年1月,MacRumors看到的一份分析师报告显示,苹果的折叠屏手机可能配备12GB内存,与Galaxy Z Fold 7的起始配置相当。这意味着苹果可能无需大量内存来支持多屏操作,或者不依赖需要大量内存的大型AI功能。
我们终于迎来了关于iPhone Fold电池的预测。微博爆料者Fixed Focus Digital发帖称,其电池容量可能为5500毫安时,9to5Mac首次报道了这一消息。这比其他一些折叠屏手机的电池容量大得多。(例如,Galaxy Z Fold 7的电池容量为4400毫安时,但三星已推出折叠屏手机多年,可能已提高效率以缩小设备体积。)倘若微博的爆料属实,这将是苹果手机上最大的电池。iPhone 17 Pro Max的电池容量为5088毫安时。
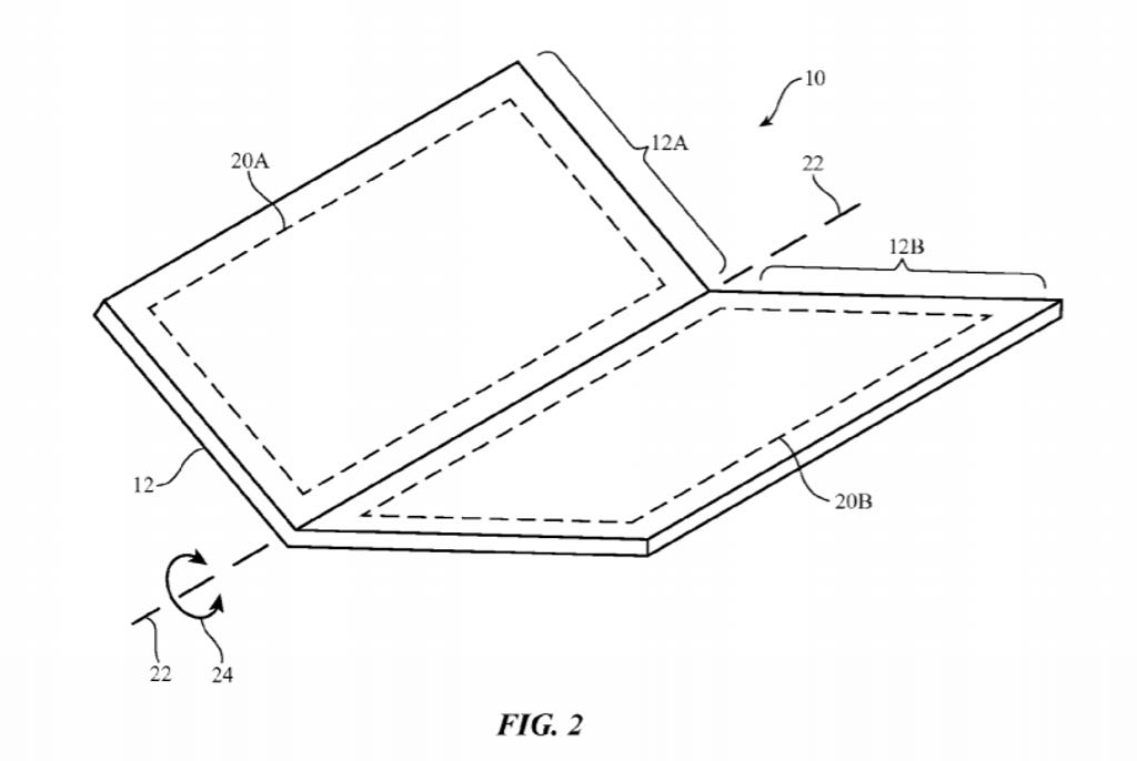
设计探索:折叠屏iPhone将呈现何种风貌?
根据苹果的专利申请,这幅插图展示了一种“沿柔性部分弯曲的设备,例如与铰链相关的柔性接缝”。Apple/美国专利商标局
在折叠屏显示技术领域,苹果似乎已申请了所有可能的专利,包括折纸式折叠显示、翻盖式显示甚至环绕式显示。早在2021年,Bloomberg的一份报告就指出,苹果已经拥有折叠屏iPhone显示的原型机,此后的传闻一直在争论苹果将首先选择翻盖式还是书本式折叠设计。
2025年3月,分析师郭明錤对苹果的折叠屏手机做出了几项具体预测:它将是一款书本式设备,配备5.5英寸外屏,展开后内屏为7.8英寸;展开时厚度为4.5至4.8毫米,折叠时为9至9.5毫米。它还将采用与“超薄iPhone 17”相同的高密度电池单元,并配备由不锈钢和钛合金制成的铰链——这是苹果iPhone 16 Pro和Pro Max以及Apple Watch Ultra 3钟爱的材料。
基于@SonyDIckson在X上泄露的非官方CAD渲染图的iPhone Fold模型。Jeffrey Hazelwood/CNET
根据郭明錤的预测,这款折叠屏手机将配备两个后置摄像头,以及外屏和内屏各一个前置摄像头。最有趣的是,郭明錤还预计,苹果的书本式折叠屏手机将重新采用侧边按钮的Touch ID,因为由于空间限制,可能无法配备Face ID——推测是为了容纳该技术所需的深度传感器和摄像头阵列。
随后,渲染图如潮水般涌现,到2026年,更是源源不断。爆料者Sonny Dickson的一组3D CAD渲染图(如上图所示)显示了一种又矮又宽的设计,看起来更像Pixel Fold,而非又高又薄的Galaxy Z Fold 7或Honor Magic V6 Foldable。尽管Dickson未提供渲染图的任何背景信息(因此不太可能来自苹果本身),但这表明这款折叠屏手机的设计与当前流行的窄款折叠屏手机截然不同。
多年来,iPhone Fold一直处于传闻之中,据报道,其推迟发布是因为苹果对可见折痕不满意。报道称,该公司已攻克这一难题,TrendForce的近期传闻(由9to5Mac引用)表明,一种先进的粘合剂在减少预期折叠显示的折痕方面取得了突破。
iPhone Fold发布日期猜想:可能于今年晚些时候惊艳亮相……或等到2027年
苹果2025年秋季活动邀请函的标志具有交互性,触摸或点击并按住时会留下热签名。Jeff Carlson/CNET截图
苹果既未确认iPhone Fold的存在,也未宣布发布日期。但分析师和传闻预测,这款折叠屏手机可能在2026年推出,也可能推迟到明年。
至于发布时间,由于iPhone Air是与iPhone 17系列一同发布的,因此折叠屏手机可能与iPhone 18系列携手登场。但考虑到苹果在今年早些时候(远早于其主要iPhone发布窗口9月)发布了iPhone 16E,该公司也可能在2026年以同样的方式发布iPhone 17E。根据ET News的报道,苹果甚至可能将标准版iPhone 18的发布推迟到2027年春季,以便在2026年9月的苹果发布会上为iPhone Fold腾出空间。鉴于三星在Unpacker活动上将其标准版和折叠屏手机的发布时间错开数月,苹果也可能采取同样的策略。
关于iPhone Fold发布日期的最新线索,来自彭博社的马克·古尔曼(Mark Gurman),他透露这款折叠屏手机有望于9月亮相。分析师郭明錤在2025年6月也表达了类似观点,认为生产可能在2026年启动,手机随后上市。这一说法与郭明錤在2025年3月的早期预测相呼应,即苹果可能在2026年底前推出一款无折痕的书本式折叠屏手机。其他分析师则预测iPhone Fold可能在12月发布。不过,值得注意的是,日经亚洲(Nikkei Asia)在4月报道称,iPhone Fold在生产过程中遇到了一些问题,可能推迟至2027年发布。
多年来,苹果正在研发折叠屏iPhone已是公开的秘密,但关于其发布日期的讨论却从未停歇。早期的传言曾指向2021年作为可能的发布年份,但那一年并未见到折叠屏iPhone的身影。此后,关于2023年和2025年可能发布的传言也接连落空。
iPhone Fold价格
分析师郭明錤预测,2026年推出的书本式折叠屏iPhone价格可能在2000至2500美元之间。他表示,“如果质量符合预期,尽管价格高昂,但仍将激发强烈的换机需求”。
去年的报告显示,一半的美国消费者对购买折叠屏手机感兴趣,尽管苹果用户的购买意愿略低于三星或LG用户。如果折叠屏iPhone真的面世,“苹果效应”可能会改变这些统计数据。
尽管摩托罗拉以其翻盖式Razr手机(约700美元)提供了最实惠的折叠屏手机之一,但该类别中的大多数其他手机都是书本式折叠屏手机,如Galaxy Z Fold 7和Pixel 9 Pro Fold,它们的价格大约是大多数旗舰手机的两倍。我们预计折叠屏iPhone不会比其竞争对手更便宜。苹果的折叠屏手机需要与当前的折叠屏和非折叠屏手机保持竞争力,才能吸引iPhone用户放弃单屏设备,为折叠屏手机支付更高的价格。
iPhone Fold历史

iPhone折叠屏手机可能的外观模型。Zain bin Awais/CNET
有传言称,苹果正在开发一款类似Galaxy Z Fold 7的书本式折叠屏手机。多年前,早在2017年,人们就预测折叠屏iPhone可能在不久的将来(即2020年)推出。此后,分析师和爆料者不断推迟发布日期,而传言和期待却一直存在,因为手机粉丝们始终抱有希望。
早期的传言曾指向2021年作为可能的发布窗口,但郭明錤在2021年3月的报告(通过MacRumors)预测其将于2023年亮相。然而,那一年已经过去。可靠的显示分析师罗斯·杨(Ross Young)在2024年2月表示,折叠屏iPhone已推迟到2025年,郭明錤曾在2022年4月的一条推文中确认过这一时间线。
为何等待如此之久?2024年2月,微博博主Fixed Focus Digital表示,折叠屏iPhone项目被推迟是因为苹果对屏幕性能不满意。2024年年中,TrendForce的市场分析师在9to5Mac的报道中预测,由于苹果对可靠性和手机显示折痕的严格要求,该设备可能要到2027年才会发布。但郭明錤在2025年3月的最新预测明确提到了一款无折痕的折叠屏显示,这表明苹果可能已克服这一障碍。
苹果在2024年7月获得的一项新专利(多年前已申请)显示了该公司在折叠屏iPhone上的长期研发工作。郭明錤在2026年3月的报告称,苹果的折叠屏手机可能在2026年底推出,配备7.8英寸无折痕内屏和5.5英寸外屏。
尽管许多报道都关注苹果在消除内部折叠显示折痕方面的困难,但苹果的专利表明,该开发工作已持续了一段时间。自2020年推出以来,折痕问题一直困扰着智能折叠屏手机,尽管最新的三星Galaxy Z Fold 7和三星Galaxy Z Flip 7已减少了折痕,但仍然可见且明显。尽管如此,三星并未让手机粉丝忘记其在折叠屏手机领域的领先地位,它发布了一款应用,让苹果手机用户通过将两部iPhone并排放置来体验类似Z Fold的感觉。
尽管在2025年有传言称苹果会率先推出一款书本式折叠屏手机,但此前多年人们一直认为苹果会先推出一款翻盖式折叠屏手机。苹果爆料人乔恩·普罗瑟(Jon Prosser)在2021年初报道称,iPhone Fold可能会采用翻盖式设计,并推出多种“有趣的颜色”。从当时新推出的iPhone 15和Plus的明亮柔和色调,到iPhone 15 Pro和Pro Max更时尚的深蓝色,苹果首款折叠屏手机有多种有趣颜色的可能性很大,不过这些颜色可能仅限于翻盖版手机。
2026年iPhone阵容

CNET的杰弗里·哈泽尔伍德(Jeffrey Hazelwood)制作了这些iPhone 18 Pro的定制渲染图。杰弗里·哈泽尔伍德/CNET
虽然无法确定苹果会在通常的9月发布哪些手机,但最稳妥的猜测是苹果会推出另一系列直板手机,我们预期这就是iPhone 18系列。但除了常规阵容外,还可能有哪些新机呢?
可能会推出iPhone Air 2,不过关于明年是否会推出这款手机,传言存在分歧。有更多证据表明苹果会推出iPhone Fold,但尚不确定它是在2026年还是更晚推出。如果iPhone Fold确实在明年推出,更多传言表明苹果会优先推出翻盖式设备,而且可能会率先上市——鉴于有报道称苹果正在研发书本式折叠屏手机,我们也可能看到这样一款手机。
1月中旬,据MacRumors报道,分析师杰夫·普(Jeff Pu)注意到一份研究报告称iPhone Fold将配备12GB内存——整个iPhone 18系列也将如此。苹果从未透露其手机配备了多少运行内存,但GSMArena等规格网站报道称,标准版iPhone 17配备8GB运行内存,而该系列其他机型(iPhone Air、17 Pro和Pro Max)均配备12GB运行内存。如果这一消息属实,那就意味着苹果认为其折叠屏手机不需要比标准直板手机更多的内存;它的屏幕面积会更大,但硬件可能不会比iPhone 18系列的其他机型更先进。
看到标准版iPhone 18配备12GB内存也很有趣,因为预计运行内存短缺会导致2026年发布的手机价格上涨,甚至可能使市场上最便宜的预算手机消失,直到内存价格降至足以让低成本手机再次盈利的水平。苹果可能愿意承担成本,推出功能更强大的iPhone 18基础款,也可能会将成本转嫁给消费者,提高价格。
iPhone Fold还是iPhone Air 2?

CNET设计师佐伊·廖(Zoe Liao)制作的模型展示了配备双后置摄像头的iPhone Air 2可能的样子。佐伊·廖/CNET
虽然iPhone Air是与iPhone 17系列手机一同推出的,但关于2026年我们是否会看到iPhone Air 2,传言存在分歧。《信息》(The Information)最近的一篇报道称,苹果正在推迟下一版iPhone的发布,该报道援引了知情人士的消息。此前有传言称,iPhone Air销量不佳,导致苹果减少了产量,不过AppleInsider看到的一篇TD Cowen的报告对此说法提出了质疑,该报告称苹果将继续生产这款超薄手机。《信息》后来修改了报道,称推迟发布可能是因为工程师正在重新考虑Air的设计,以支持第二个后置摄像头。
所有这些传言都让我们对明年是否会推出iPhone Air 2产生了怀疑,但目前还没有足够的证据完全否定这种可能性。
两款可折叠iPhone?
对于期待可折叠iPhone的人来说,至少有一个好消息,那就是苹果似乎仍在不断完善iPhone Fold的设计。据《信息》此前的一篇报道称,苹果正在研发两种尺寸的折叠屏iPhone:书本式和翻盖式,不过该网站较新的一篇报道可能与此相矛盾,该报道称苹果已选定后者用于尺寸更小的设备。这与此前的传言一致,即iPhone Flip将采用与三星Galaxy Z Flip系列或摩托罗拉Razr Ultra类似的翻盖式设计。
听起来苹果一直在努力达到自己的高期望:据报道,苹果的设计团队希望iPhone Fold的厚度是当前iPhone机型的一半,并且在设备折叠时,外部显示屏仍然可见。鉴于2025年9月推出的iPhone Air将典型iPhone的厚度缩减到了5.6毫米,苹果已经朝着这个目标取得了进展。
此前有报道指出,翻盖式iPhone Flip的研发工作在2020年左右暂停,以专注于一个新项目:折叠屏iPad。这款设备将配备8英寸显示屏,尺寸大致与iPad Mini相当。据报道,这款可折叠平板电脑的耐用性和厚度要求不那么严格,因为它不需要像iPhone Flip那样能放进口袋。苹果还在研究如何减少显示屏的折痕,并使iPad能够完全平放。
阻碍:苹果仍面临哪些挑战?

CNET的瓦妮莎·汉德·奥雷利亚纳(Vanessa Hand Orellana)测试康宁玻璃显示屏的柔韧性。CNET
三星等公司一直在试水折叠屏手机市场,但苹果一直在从竞争对手折叠屏设备的痛点中吸取教训,并研究用户会如何使用这些设备。
其中一个痛点就是折痕。目前许多覆盖材料,包括三星用于Z Fold和Z Flip的玻璃和塑料混合材料,在展开成全屏时都会出现明显的折痕。为了避免这一问题,苹果可能不得不等待其玻璃供应商康宁公司开发出某种可弯曲版本的Ceramic Shield屏幕。康宁公司已经在研发可弯曲玻璃,但尚未公布其发布日期。
郭明錤在2022年4月发推文称,苹果正在测试可折叠OLED屏幕。韩国科技新闻网站The Elec也报道称,苹果正在与LG合作开发可折叠OLED面板。

