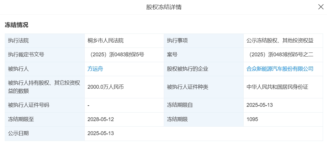
据天眼查显示,哪吒汽车母公司合众新能源汽车股份有限公司新增了股权冻结信息。被执行人为哪吒汽车创始人方运舟,冻结股权数额2000万人民币,冻结期限从2025年5月13日起至2028年5月12日止。

天眼查信息显示,此前在2024年12月18日和2025年1月23日,方运舟也曾被冻结股权数额分别为1986万人民币及600万人民币。

近日,合众新能源遭遇重大危机。5月13日,全国企业破产重整案件信息网披露,合众新能源新增一则破产审查案件,申请人为上海禹形广告有限公司,经办法院为浙江省嘉兴市中级人民法院。目前,法院已受理该案件,将依法审查企业是否符合破产条件。
合众新能源成立于2014年10月,法定代表人为方运舟,注册资本约28.37亿元,主要从事新能源汽车整车及零部件的研发、生产和销售等业务。公司由南宁民生新能源产业投资合伙企业、北京华鼎新动力股权投资基金等多家机构共同持股。
近年来,合众新能源及哪吒汽车经营状况持续恶化。数据显示,2023年哪吒汽车销量同比下滑16%至12.75万辆,2024年进一步腰斩至6.45万辆,2025年1月国内交付量仅110辆。财务方面,公司2021年至2023年累计亏损超180亿元,经营活动现金流连续三年为负,欠税金额达215万元,涉及司法案件超400起,被执行总金额逾1.4亿元。此外,公司此前被曝裁员、停工停产,经销商曾集体维权要求返还车款并恢复售后服务。
