保时捷新专利探索独特 W12 发动机,有望支持三涡轮或机械增压
12 小时前 / 阅读约2分钟
来源:IT之家
保时捷公布W12发动机新专利,采用独特W型布局,改进设计最小化摩擦损失,支持三台增压器,性能远超旧款。

IT之家 10 月 18 日消息,据外媒 Carscoops 报道,保时捷去年提交了一项 W12 发动机的新专利,并于昨日正式公布。

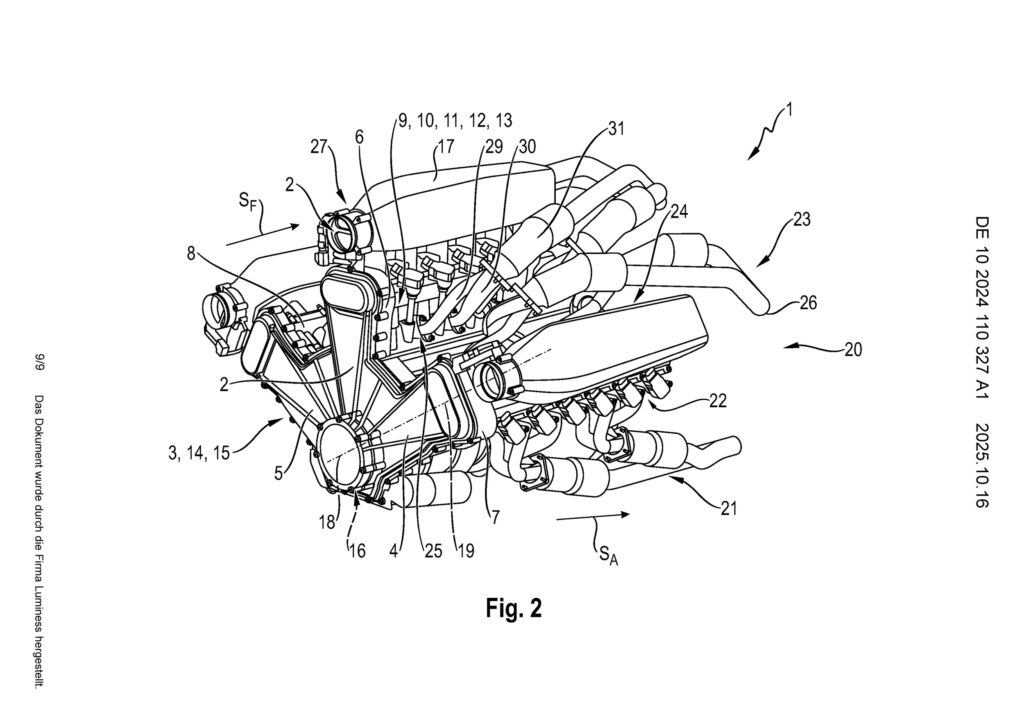
该专利揭示了一种结构复杂、拥有三个明显气缸组的 W12 发动机,明确指出气缸呈 W 形排列

新发动机在现有 W12 基础上进行了多项技术改进。保时捷称,这些改进“既实用又非平凡”,专利重点说明了独特 W 型布局 —— 不像两个 V 型组合,因而更具辨识度。

每个气缸盖至少配有一个进气口和一个排气口,进气口与空气歧管相连,排气口则与废气排放装置连接。空气歧管位于上方,几乎覆盖整个气缸盖,使空气可从上方流入进气通道,或由气缸内上下运动的活塞直接吸入,无需弯曲。空气室设有与进气口相通的开口,朝向曲轴方向。

保时捷称,这种设计能够最小化摩擦损失,短进气口设计也能增加灵活性,同时缩短进气路径降低进气温度,并确保进气系统与排气系统清晰分隔。

新发动机有望支持三台涡轮增压器或机械增压器,性能远超旧款 6.0 升双涡轮 W12 发动机。IT之家从报道中获悉,旧款 W12 发动机曾驱动宾利 Mulliner Batur,最大输出功率 740 马力(552 kW / 750 PS),扭矩 1000 N・m