IT之家 10 月 5 日消息,科技媒体 Windows Report 昨日(10 月 4 日)发布博文,报道称微软公司获得了一项新的专利,构想 Copilot 在未来能辅助用户创建和视频、文本、PowerPoint 等匹配的音乐或者背景音乐。
IT之家注:微软该专利名为《Artificial intelligence model for composing audio scores》,主要探讨了基于输入内容,来创建音乐的方法。

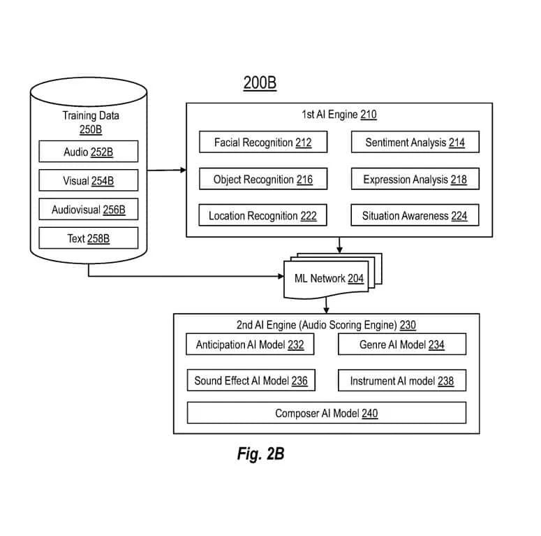
该专利主要概述了以下步骤:
收集数据:收集大量的训练数据,这些数据包括许多包含视频和音频组件的视听数据集。
分析提取:分析数据集并提取不同类型的特征。例如文本视频中的颜色、形状、运动和场景等等。
关联:Copilot 会分析这些特征并寻找它们之间的相关性。例如,某些场景(如日落)通常伴随着特定类型的音乐(如平静、舒缓的旋律)。
Copilot 将通过这些特性进行训练,并利用关联系统,生成与新视频的视觉和文本特征相匹配的适当音频评分。
在现实生活中,这项技术可以用于各种应用,例如:
电影和视频制作: 自动为电影、电视节目或在线视频生成背景音乐。
广告: 创作与商业广告的氛围和信息完美契合的音乐。
游戏: 制作基于游戏视觉和动作变化的动态配乐。
虚拟现实: 通过与视觉环境相适应的音频增强沉浸式体验。
其它场景:例如可以在求婚等场景下自动匹配合适的音乐。
