IT之家 10 月 15 日消息,科技媒体 MSPoweruser 昨日(10 月 14 日)发布博文,报道称微软公司获得了一项新的专利,描述了基于用户实时输入的语音来生成图片。
根据美国商标和专利局最新公示的清单,该专利共计 20 页,微软于 2023 年 4 月 5 日提交申请,于 10 月 10 日获批。
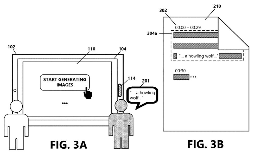
根据专利描述,该系统可以在会议或讲座中实时捕捉音频,随后通过语言模型进行总结,并生成相应的 AI 图像。



IT之家援引该媒体报道,该工作会分为 3 个步骤:
捕捉音频:用户通过麦克风发言,系统实时记录并转化为文本。
处理文本:分段记录文本,每段内容通过语言模型进行总结。
生成图像:根据总结生成的提示,系统创建 AI 生成的图像,并在屏幕上实时显示。
预计该功能将主要应用于 Microsoft Teams。随着演讲者话题的变化,实时生成的图像也会随之更新,从而增强视觉沟通的效果。微软表示,这种图像的使用有助于澄清概念,特别适合通过视觉辅助学习的用户。
