天眼查显示,江苏长电科技股份有限公司“引线框架结构及其封装结构”专利公布,申请公布日为2024年12月27日,申请公布号为CN119208282A。

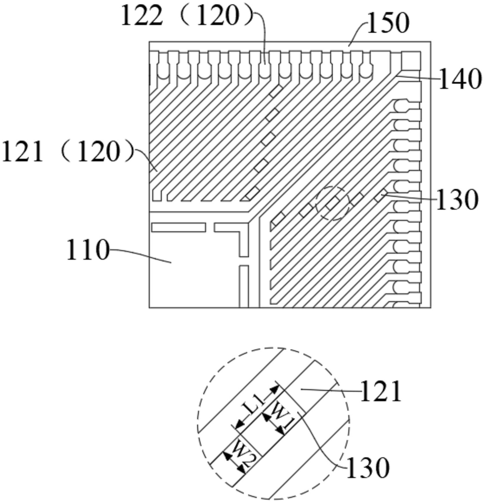
一种引线框架结构及其封装结构,引线框架结构包括:基岛;引脚,与所述基岛间隔设置,所述引脚的背面设置有实体,同一所述引脚上的所述实体的数量为一个或多个,所述引脚的背面背向所述基岛的器件承载面。本发明实施例的实体能够对引脚起到支撑作用,降低了由于引脚的支撑力不足而产生形变的概率,相应提高了引线框架结构抗形变的能力,从而有利于提升后续塑封制程中的塑封料对引脚的覆盖能力,降低引脚中不期望的区域被暴露的概率,进而提高了封装结构的良率。
