天眼查显示,苏州汉天下电子有限公司近日取得一项名为“低压差线性稳压电路”的专利,授权公告号为CN222461955U,授权公告日为2025年2月11日,申请日为2024年3月12日。

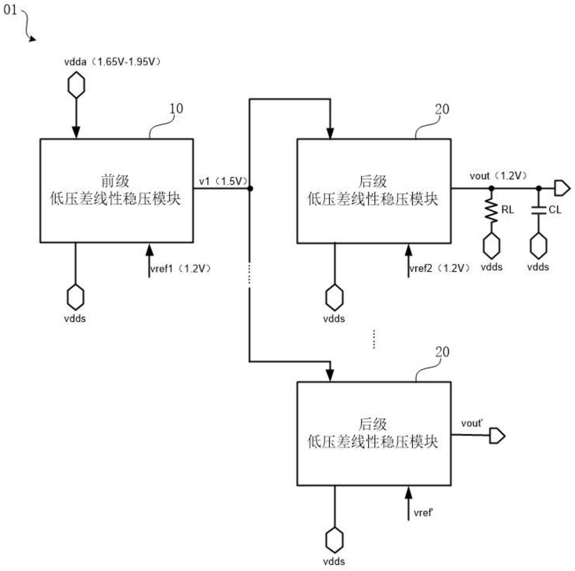
本申请涉及一种低压差线性稳压电路。本申请实施例的低压差线性稳压电路包括前级低压差线性稳压模块以及一个或多个与前级低压差线性稳压模块级联的后级低压差线性稳压模块;前级低压差线性稳压模块被配置为产生稳定的第一输出电压,以作为电源电压提供给后级低压差线性稳压模块;后级低压差线性稳压模块被配置为在第一输出电压的供电下产生稳定的输出电压;其中,前级低压差线性稳压模块采用电流模缓冲补偿结构,以提升频率稳定性;后级低压差线性稳压模块设置有倒置型源极跟随器,倒置型源极跟随器的输出连接至第二功率调整管的控制端,以提高电路带宽。本申请实施例提高了低压差线性稳压电路的频率稳定性、输出电压稳定性和电路带宽。
