
3月24日,中国大陆规模最大的探针台设备制造企业矽电股份正式登陆创业板,成为国产探针台领域首家上市公司。
上市首日,矽电股份高开244%,股价盘中一度逼近190元。截至收盘,矽电股份报157.93元/股,涨202.08%,市值超65.9亿元。

来源:雪球
此次IPO,矽电股份发行价为52.28元,发行1043.18万股,募集资金总额为5.45亿元,扣除发行费用后的募集资金净额为4.64亿元。募集资金将用于探针台研发及产业基地建设项目、分选机技术研发项目、营销服务网络升级建设项目以及补充流动资金。
深交所官网信息显示,矽电股份于2022年6月递交招股书,冲刺期间颇为波折。IPO申请获受理的两个月后,由于保荐机构招商证券被中国证监会立案调查,导致其IPO进程被迫中止。
2023年4月,矽电股份顺利过会,但在提交注册环节却僵持了21个月。这期间,矽电股份的申报会计师天职国际又被暂停证券业务,其IPO再度被中止。直到今年1月份,矽电股份IPO进程才恢复。
招股书显示,矽电股份创立于2003年,主要从事半导体专用设备的研发、生产和销售,专注于半导体探针测试技术领域,系境内领先的探针测试技术系列设备制造企业。
据CSA Research研究报告,2019年矽电股份在中国探针台市场的占有率为13%,排名第四。2019年至2023年,矽电股份在中国探针台市场的占有率从13%跃升至25.7%。
在过去,探针台设备长期处于被东京电子、东京精密等日系厂商垄断的局面,如今,矽电股份的市场份额不断渗透,打破了国外厂商的垄断,在12英寸探针台细分市场,矽电股份市占率已达18.6%,位居国产厂商首位。
业绩方面,2021 年、2022年、2023 年及 2024 年上半年,矽电股份营业收入分别为 3.99 亿元、4.42 亿元、5.46 亿元及 2.88 亿元;净利润分别为 9603.97 万元、1.14 亿元、8933.20 万元及 5625.92 万元。
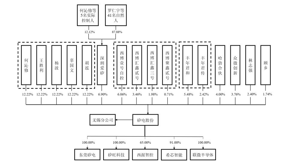
矽电股份高速成长的背后,是公司团队二十余年的厚积薄发。据悉,矽电股份主要创始人均为半导体行业的资深专家。招股书显示,公司董事长何沁修、总经理王胜利分别出生于 1964 年、1965 年,二人均毕业于电子科技大学,随后共同入职电子部第八七一厂,一个是技术员,一个是车间副主任。80 年代末至 90 年代初,何沁修、王胜利二人先后南下深圳,辗转多家半导体行业企业任职,王胜利在深圳市深爱半导体有限公司任职期间,结识了杨波和辜国文。
2003 年 12 月,何沁修、王胜利、杨波、辜国文四人在深圳开启创业,次年 8 月,胡泓加入团队。在股权结构上,何沁修、王胜利、杨波、辜国文、胡泓通过直接和间接持股合计控制公司67.99%的表决权实现对公司的控制。值得注意的是,创始团队人持股比例几乎一致,五人一起为公司控股股东、实际控制人,且直接持股比例均为12.22%,并通过担任员工持股平台深圳爱矽的普通合伙人控制公司6.90%的表决权。

来源:矽电股份招股书
在递表深交所前夕,由华为全资控股的哈勃合伙,通过受让何沁修、杨波、王胜利、辜国文、胡泓、深圳爱矽所持公司 4% 股份突击入股,创始团队的股权转让价款合计 8000 万元。
此外,矽电股份还获得来自客户的入股。其中,持有公司2.4%股权的股东林志强,是三安光电的董事长;持有公司1.74%股权的股东顾乡的父亲顾伟兆驰股份的实控人。而三安光电和兆驰股份是矽电股份的两家大客户。
随着矽电股份的顺利IPO,五位半导体老兵在创业二十多年后,实现了属于他们的第一个IPO。
(首图来源:矽电股份上市仪式)
