天眼查显示,上海天马微电子有限公司 “液晶移相器、液晶天线以及液晶移相器的制备方法”专利公布,申请公布日为2025年2月14日,申请公布号为CN119439544A。

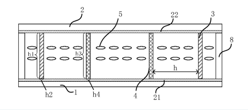
本公开涉及一种液晶移相器、液晶天线以及液晶移相器的制备方法。液晶移相器包括:相对设置的第一基板和第二基板;移相器走线和接地电极,移相器走线和接地电极位于第一基板和第二基板之间,且移相器走线和接地电极同位于第一基板,在平行于第一基板的方向上,移相器走线与接地电极至少部分交叠;液晶分子,液晶分子填充在移相器走线和接地电极之间。本公开的技术方案,节省了液晶分子的用量,提高了液晶分子所在膜层厚度的均一性,且有利于实现窄边框,降低了误导通的风险。
