天眼查显示,本源量子计算科技(合肥)股份有限公司 “半导体量子芯片的电极结构及测试方法”专利公布,申请公布日为2025年2月14日,申请公布号为CN119451199A。

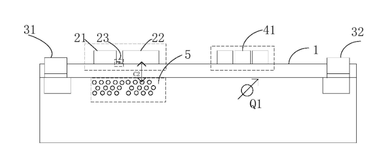
本申请公开了一种半导体量子芯片的电极结构及测试方法,所述半导体量子芯片的电极结构包括位于衬底相对两侧的源极和漏极、以及若干个栅极,栅极包括:第一栅极,用于施加第一直流电压信号以使所述第一栅极下方的沟道形成二维电子气;第二栅极,用于施加第二直流电压信号调节所述第二栅极下方的沟道内二维电子气的电荷密度以形成感应量子点;位于所述第一栅极和所述第二栅极之间的第三栅极,用于施加射频信号读取所述感应量子点的状态;其中,所述第一栅极和所述第三栅极在所述衬底的垂直方向具有重叠端部,所述重叠端部之间形成有绝缘介质层。本申请避免了测量信号沿着半导体量子芯片的电极结构进行泄露,提高了半导体量子芯片的测量兼容性
