天眼查显示,上海申矽凌微电子科技股份有限公司“用于用户线接口电路的高压驱动电路及系统”专利公布,申请公布日为2025年2月28日,申请公布号为CN119543915A。

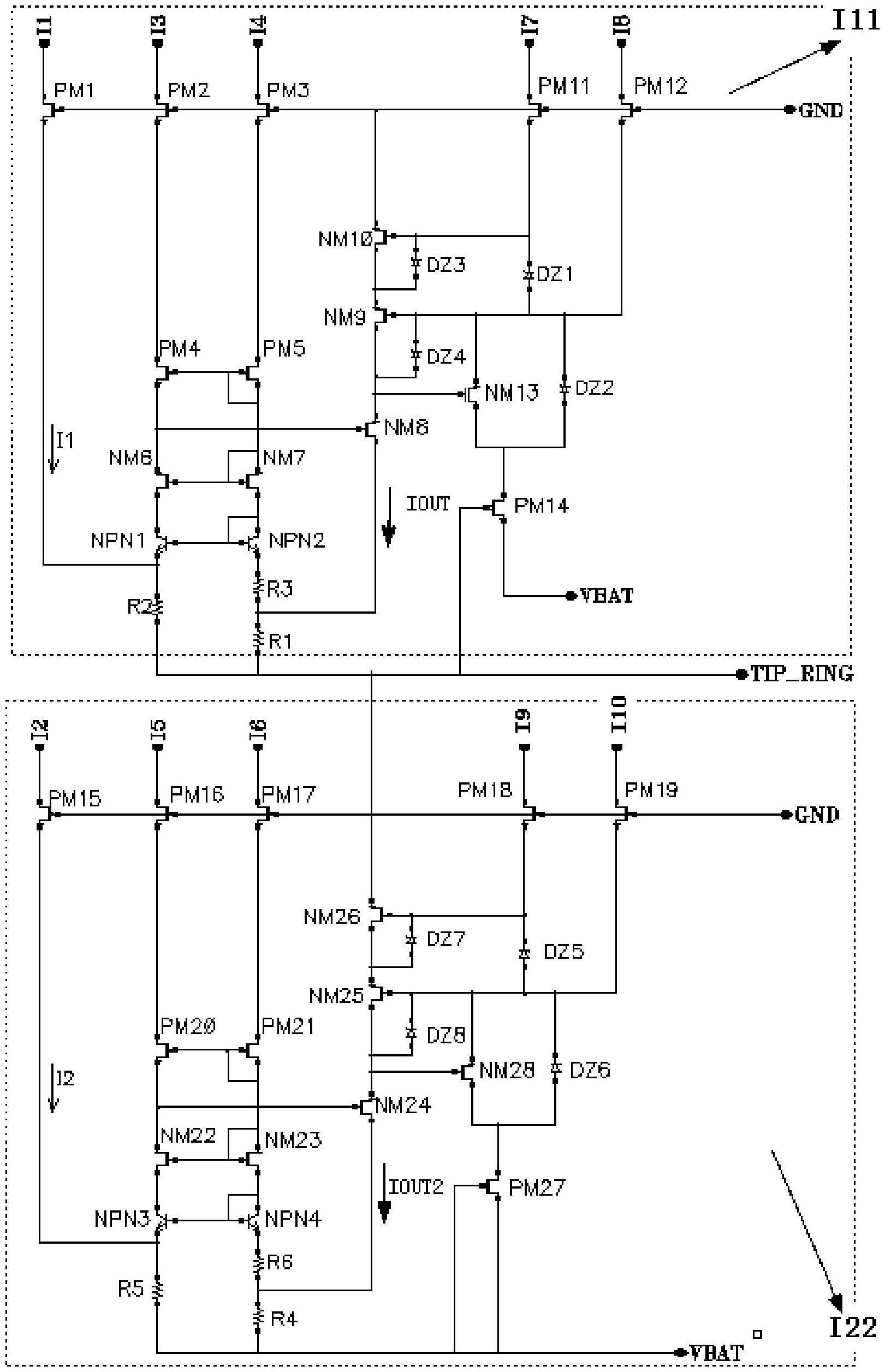
本发明提供了一种用于用户线接口电路的高压驱动电路及系统,包括:上驱动电路I11和下驱动电路I22;所述上驱动电路I11和下驱动电路I22形成推挽输出结构。本发明使用差分对放大方案,而调整管采用了CASCODE(套筒)结构,CASCODE结构由低压MOS管和低于90V耐压的两个高压管组成。本发明满足了电路高耐压需求,同时降低了工艺实现的难度。
