天眼查显示,佛山市国星光电股份有限公司近日取得一项名为“一种LED器件”的专利,授权公告号为CN222655678U,授权公告日为2025年3月21日,申请日为2024年3月22日。

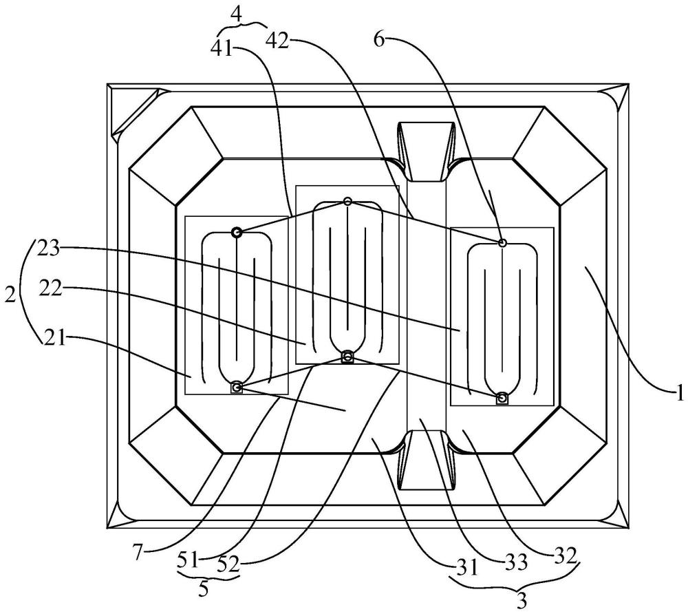
本实用新型公开了一种LED器件,LED器件包括:支架、设置在支架上的焊盘、设置在焊盘上的若干个LED芯片以及设置在若干个LED芯片之间的若干个连接焊线,若干个LED芯片基于若干个连接焊线并联连接在支架的焊盘上;若干个连接焊线划分有第一焊线组和第二焊线组,任一LED芯片设置有正极端和负极端,若干个LED芯片的正极端基于第一焊线组串联连接,若干个LED芯片的负极端基于第二焊线组串联连接。通过将多个LED芯片的同性电极串联连接,缩短相邻LED芯片之间的焊线打线距离,将多个LED芯片形成并联连接结构,避免出现焊线线弧相互干涉的情况,提高多个LED芯片的电性连接稳定性,从而提高LED器件的工作可靠性。
