1.芯原“基于多FPGA互联的收发信号恢复方法、系统以及终端”专利授权
2.士兰微“功率封装结构及其引线框”专利获授权
3.兆易创新“一种NOR型阻变存储器及制备方法”专利获授权
4.龙腾半导体 “一种超结高压器件结构及制造方法”专利获授权
5.获湖南光召科技奖!潘安练:为国产芯片寻找新赛道曙光
1.芯原“基于多FPGA互联的收发信号恢复方法、系统以及终端”专利授权
天眼查显示,芯原微电子(上海)股份有限公司近日取得一项名为“基于多FPGA互联的收发信号恢复方法、系统以及终端”的专利,授权公告号为CN112486248B,授权公告日为2024年8月16日,申请日为2020年11月20日。

本发明的基于多FPGA互联的收发信号恢复方法、系统及终端,应用多FPGA多SelectIO互联的系统,所述方法包括:收发双方FPGA均使用由本地DUT clk以及派生出的Strobe信号,采用固定封包结构进行收发信号管理。解决了大型同步RTL逻辑无法在多个FPGA中进行实现的问题。本发明采用FPGA的SelectIO作为底层串并转换基础,基于多个FPGA内DUT clk的产生方法(另外专利申请中),在每个FPGA内部以验证逻辑实际运行DUT clk上升沿做Strobe信号,采用固定的封包结构,完成RTL分割后的大量跨芯片signal从一个FPGA传输到另外一个FPGA的实现。本专利方法可对大型同步逻辑RTL,在任意block边界分割到多个FPGA上的实现,保证原有设计RTL的clk cycle级的真实吞吐效率。并且FPGA还有相当快的运行速度。
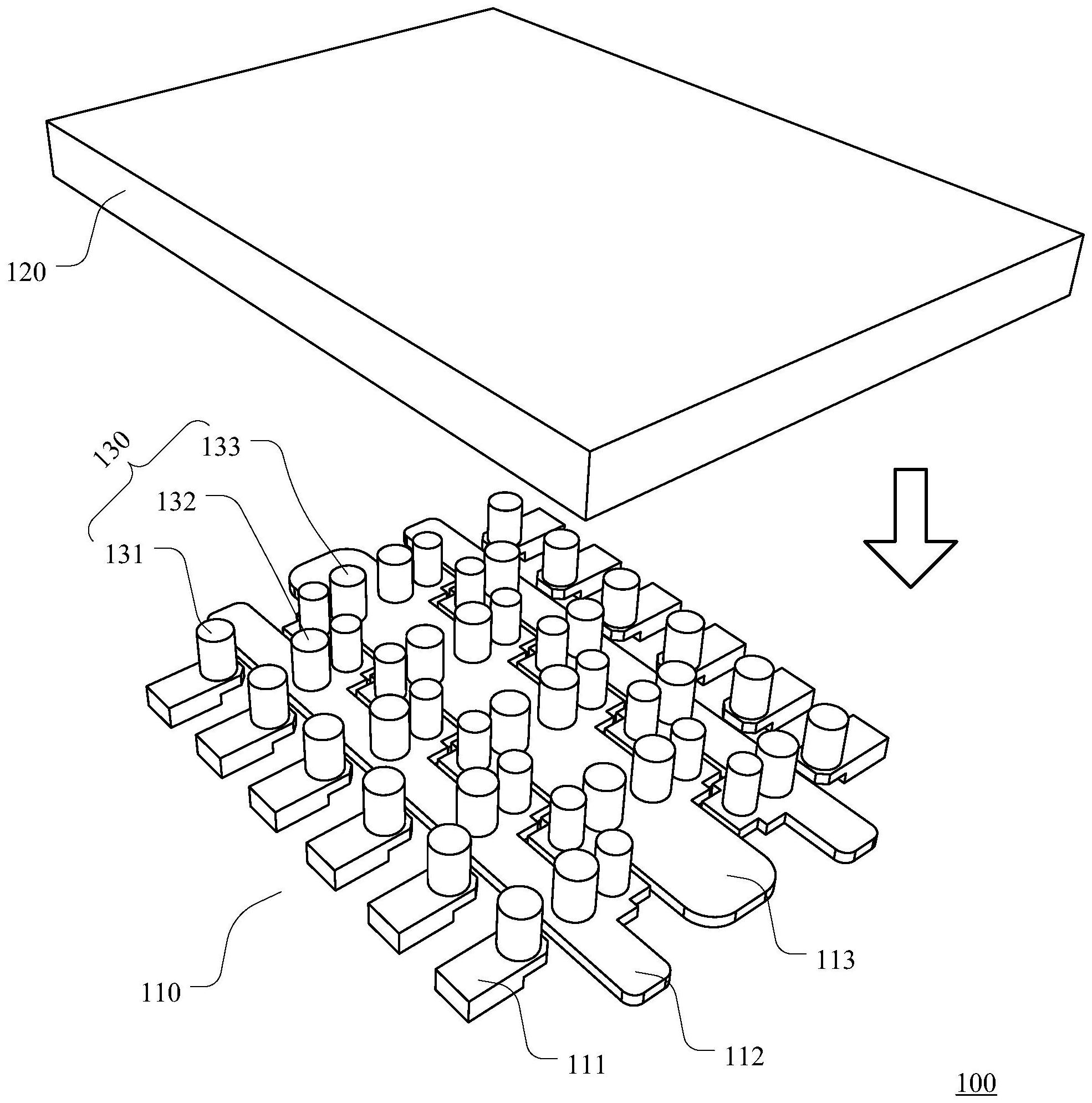
2.士兰微“功率封装结构及其引线框”专利获授权
天眼查显示,杭州士兰微电子股份有限公司近日取得一项名为“功率封装结构及其引线框”的专利,授权公告号为CN108878394B,授权公告日为2024年8月16日,申请日为2018年7月27日。

本申请公开了功率封装结构及其引线框。该引线框包括:第一组引脚,所述第一组引脚的第一表面提供用于内部电连接的第一接触面,以及第二组引脚,所述第二组引脚的第一表面提供用于内部电连接的第二接触面,所述第二组引脚分别包括导电条和在导电条的至少一个侧边延伸的多个突出部,其中,所述多个突出部的宽度方向与所述导电条的侧边平行,并且,所述多个突出部的宽度随着与所述导电条的侧边之间的距离而变化。该功率封装结构中的引线框采用引脚的突出部提供与一组导电柱电连接的接触面,以提高电流承载能力和减小产品尺寸。
3.兆易创新“一种NOR型阻变存储器及制备方法”专利获授权
天眼查显示,兆易创新科技集团股份有限公司近日取得一项名为“一种NOR型阻变存储器及制备方法”的专利,授权公告号为CN108878644B,授权公告日为2024年8月16日,申请日为2017年5月11日。

本发明实施例提供了一种NOR型阻变存储器及制备方法,包括:自下而上多个层叠设置的第一电极,第一电极之间设置有层间介质层,层间介质层延伸至第一电极的外侧,并包裹多个第一电极;贯穿多个层叠设置,以及层间介质层的至少一个第一通孔;第一通孔的孔壁上设置有阻变材料;设置在第一通孔内,且由阻变材料包裹的第二电极,第二电极与对应的字线电连接;本发明实施例提供了一种NOR型阻变存储器及制备方法,通过设置下电极包裹阻变材料,阻变材料与上电极包裹的结构,来实现数据的存储,可以制造出集成度更高的存储器,且制备工艺简单,成本降低。
4.龙腾半导体 “一种超结高压器件结构及制造方法”专利获授权
天眼查显示,龙腾半导体股份有限公司近日取得一项名为“一种超结高压器件结构及制造方法”的专利,授权公告号为CN114464534B,授权公告日为2024年8月16日,申请日为2021年12月30日。

本发明公开了一种超结高压器件结构及制造方法,属于半导体分立器件技术领域,解决了现有技术中超结MOSFET器件雪崩击穿时寄生BJT引起的二次击穿效应的问题。本发明具体技术方案为,通过在超结高压器件的trench Gate之间增加了并联的二极管结构,且此二极管结构采用了逆向的浓度掺杂分布,形成两个间隔的P+区以弱化轻掺杂P型区的电场。本发明改善了超结MOSFET二极管导通状态下的注入效率,减少了少子注入,反向回复时间和反向回复电荷都得到有效降低;一定程度上避免了寄生NPN结构的开启导致的雪崩耐量降低,提高了抗浪涌能力。
5.获湖南光召科技奖!潘安练:为国产芯片寻找新赛道曙光
9月3日,全省科技大会暨科学技术奖励大会在长沙召开,会议表彰了2022-2023年度湖南省科学技术奖。其中,住湘全国政协委员、中国工程院院士、湖南工商大学党委书记、湘江实验室主任陈晓红获湖南省科学技术杰出贡献奖,省政协常委、湖南师范大学副校长潘安练获湖南光召科技奖,以省政协委员、中南大学自动化学院院长阳春华为第一完成人的“工业过程多模态平滑控制与跨层级优化方法”获湖南省自然科学奖一等奖。政协融媒记者对3位获奖的政协委员进行了专访。
“周光召先生刚刚去世,他是我们物理学界的大前辈,此时我获得湖南光召科技奖,心里特别有感触。”省政协常委、湖南师范大学副校长、湖南光电集成创新研究院院长潘安练告诉政协融媒记者。
20年前,当光电集成还是一个相对冷门的研究领域时,潘安练就开始在“追光”道路上不懈努力。从原始创新到核心技术攻关,他带领团队取得了一系列重要科研突破,并推动了湖南在光电集成领域产研一体的前瞻性布局。
“眼界决定一切,牵引行动和未来。”潘安练的心愿是继续面向国家重大需求,坚持在光电集成领域深耕,以滴水穿石的精神为国产芯片寻找新赛道上的曙光。
不断突破芯片技术瓶颈
一粒芝麻大小的微显示屏,可以清晰播放视频,这是常人难以想象的情景。
2022年,潘安练团队研发的“AR眼镜用高像素密度高亮度硅基Micro-LED微显示芯片”,实现了当时世界上最小微显示屏,并在2022年全国颠覆性技术创新大赛上获得最高奖——总决赛优胜奖。
随着人工智能、元宇宙等新一代互联网和信息技术的飞速发展,传统电子芯片越来越难以满足数字信息处理需求,新型光电芯片被视为下一代高性能芯片技术的重要趋势。
早在多年前,潘安练已不满足于埋头写论文,将目光瞄准产学研融合发展。2019年,他牵头组建了湖南光电集成创新研究院,力求推动解决新一代光电信息技术领域的重大需求和核心技术难题。
从指甲盖到芝麻粒大小高清微显示屏技术的研发,再到近期利用三维堆叠路线实现全彩微显示技术的突破,潘安练团队经过多年研究,攻克了高性能硅基Micro-LED微显示芯片制备的核心技术难题。
如今的湖南光电集成创新研究院,聚集了一批来自世界名校和知名企业的青年才俊,多数为85后甚至90后教授、博导,拥有一流的光电芯片研发和测试线,形成了“基础研究—应用研究—成果转化”的全链条科研平台。
“Micro-LED微显芯片能够让虚拟和现实自然地融为一体,使人们步入穿戴式的互联网时代,实现现实世界随时随地数字交互。”潘安练对Micro-LED微显示芯片商用化前景充满信心, 他告诉记者,芯片近期内很可能就会出现比较规模化的应用 。
创建新型产学研一体化平台
岳麓山下,桃子湖畔,一个新型的产学研一体化平台——桃子湖未来技术研究院正在加紧建设。
2024年1月,潘安练迎来了新的职业挑战——担任湖南师范大学副校长,筹建桃子湖未来技术研究院成为他全力推进的重点工作之一。当年创建湖南光电集成创新研究院的经历,为他提供了宝贵的经验。
“湖南师大有较深厚的文理科基础,曾为国家培养了一大批知名院士和专家学者,但在工科方面相对薄弱。希望能发挥我的优势,助力师大新工科建设。”在潘安练的蓝图中,桃子湖未来技术研究院将围绕空间计算、人工智能、光电传感等新一代信息技术核心领域,通过校际协同、校地合作及产教融合机制,打造新的创新联合体,并源源不断实现科技成果转化。
“目前已经吸引一些企业前来合作,建设校企联合实验室。”潘安练说,希望桃子湖未来技术研究院将来成为产学研窗口和创新典范,培养和引进更多优秀年轻人才,推动提升学校整体创新氛围,高校的科研应顺应国际发展时势,与时代发展同频共振,才能走得更远。
“回想我的求学之旅,一路走来都不轻松,但我从未有过退缩。”在湖南大学2022年开学典礼上,作为教师代表发言的潘安练曾讲述自己的求学经历。生长于皖南山区的贫寒家庭,大学期间一直靠勤工俭学维持生活和学业,潘安练的“追光”故事曾激励许多学子克服困难不断前行。
“包括周光召先生在内的‘两弹一星’元勋们,当年在那么艰苦的条件下打破了西方国家的技术封锁。我们也要从国家重大需求出发去找课题、选方向,敢于坐冷板凳,而不是盲目追求热点,跟风逐流。”潘安练坚定地说。
(来源:湘声网·湖南政协新闻网)
