1.华羿微电“一种宽SOA屏蔽栅MOSFET器件及制备方法”专利获授权
2.东软载波及其全资子公司获三项发明专利
3.苹果新专利曝光 在可折叠设备的任意表面实现触敏控制
4.济大魏琴团队提出了一种纳米约束催化增强ECL的新策略
5.中科大在单原子催化晶面效应研究中取得新进展
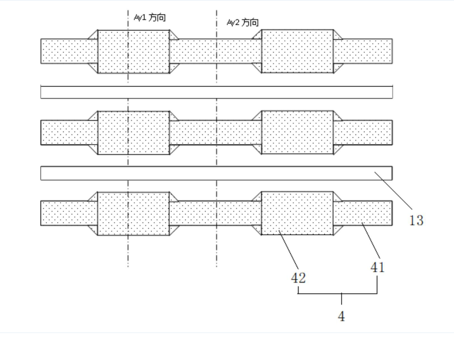
1.华羿微电“一种宽SOA屏蔽栅MOSFET器件及制备方法”专利获授权
天眼查显示,华羿微电子股份有限公司近日取得一项名为“一种宽SOA屏蔽栅MOSFET器件及制备方法”的专利,授权公告号为CN118248736B,授权公告日为2024年8月30日,申请日为2024年5月23日。

本发明公开了一种宽SOA屏蔽栅MOSFET器件,通过在器件有源区中间隔错位或者平行排列而形成沟槽宽度和接触孔宽度的不同版图布局,该布局是通过光刻的方式在器件有源区中间隔错位或者平行排列形成沟槽和接触孔不同宽度,使得该区域拥有更窄的沟槽到接触孔距离,从而在接触孔注入后形成该区域与其他区域不同的浓度梯度,实现在器件导通时其他区域优先开启而该区域延迟开启,最终在其他区域优先开启的情况下,该区域可以作为散热场板从而提升器件整体的SOA。本发明还提供了一种上述器件的制备方法,该器件的制备方法与一般功率器件制造工艺兼容,能够应用于平面型以及沟槽型和屏蔽栅型MOSFET甚至超结MOSFET和IGBT等功率器件当中。
2.东软载波及其全资子公司获三项发明专利

9月19日,东软载波发布公告称,公司及全资子公司青岛东软载波智能电子有限公司于近日取得三项发明专利。
东软载波取得的专利名称为“一种带有能源管理的能源路由器柜及其应用方法”和“一种基于量测数据的分布式配电网拓扑识别方法和系统”,专利号分别为ZL 2021 1 1548300.X和ZL 2021 1 1482436.5。前者涉及能源管理技术领域,已应用于微电网系统中,实现了微电网系统中源、网、 荷、储、充的一体化全局管理,有助于提升公司在新能源业务上的竞争力。后者提出的低压配电网拓扑识别方法将低压台区可视化,能够显著提高现场运维效率,将应用于东软载波低压集抄系统产品。
而东软载波子公司获得的专利名称为“一种智能家居用网关”,专利号ZL 2019 1 0501298.7。该发明公开了一种智能家居用网关,包括液晶模组、铝合金中框、密封装置、PCB 主板、声音装置、后盖、支撑架,作为基础性专利,将网关集成到普通86盒图形交互终端,提高了产品的集成度,易于现场安装,提升了整个系统的性价比和可用性,已应用于智能交互终端产品。
3.苹果新专利曝光 在可折叠设备的任意表面实现触敏控制
美国商标和专利局(USPTO)最新公示的清单显示,苹果公司获得了一项新的专利,构想了未来iPhone的设计方案,包括固态按钮在内在所有表面实现触敏控制。该专利名为《带有显示屏和触摸传感器结构的电子设备》,其专利的设计草图为折叠式设计。
苹果表示,从用户那里收集触摸输入并高效地向用户展示图像可能面临挑战。
例如,当用户向触摸屏显示器提供触摸输入时,用户的手可能会遮挡显示器上正在显示的图像。

为解决这一问题,苹果公司构想了在设备所有表面实现触敏控制的设计。
据悉,苹果计划在设备所有表面内置控制电路、电池及其他组件,设备表面可以包含不透明部分与透明部分,并考虑采用不透明塑料、金属、纤维复合材料以及含有纤维、陶瓷和其他不透明材料的多层结构。
值得注意的是,苹果计划通过在设备表面铺设细小的金属线(例如纳米结构)来实现任意表面的触敏控制。
苹果在专利中提供了一些例子,说明这种触控功能在实际应用中的可能用途。
例如在游戏应用及其他应用中,用户可以在设备的背面使用触摸传感器,同时在设备的正面显示屏上显示相关视觉信息,从而实现更丰富的交互体验。(来源: cnbeta)
4.济大魏琴团队提出了一种纳米约束催化增强ECL的新策略

第一作者:Yujie Han、Xiang Ren、Tingting Wu
通讯作者:魏琴、Dan Wu、Yu Du
通讯单位:济南大学
研究背景与内容
自由基在电极界面的局部富集可能为电化学发光(ECL)应用的发展开辟了新的机遇。该传感平台首次将发光发光的鲁米诺衍生碳点(Lu CDs)组装到异质结二硫化钨/共价有机骨架(WS2@COF)上,与Lu CDs-H2O2体系相比,建立了ECL强度和稳定性显著提高的纳米限制反应装置。
这种增强的性能归功于COF结构域的受限孔隙环境,其中WS2@COF对H2O2表现出更负的吸附能,有效地富集了WS2催化边缘位置的H2O2。此外,在WS2和COF界面处的内部电场加速了电子流,提高了WS2的催化活性,实现了ECL的限域催化增强。
研究要点
要点一:本文在纳米约束效应的启发下,提出了一种纳米约束催化增强ECL的新策略。以过氧化氢(H2O2)和溶解氧为共反应物,采用具有巨大比表面积的多孔COF和WS2结构的纳米反应器制备了发光氨衍生碳点(Lu CDs)体系。COF结构域的受限孔环境为助反应物提供了独特的反应环境,助反应物在催化边缘被有效富集,生成更多的活性自由基,增强了与Lu CDs的碰撞效率,显著提高了反应效率。
要点二:WS2与COF界面处的内电场加速了电子流,提高了WS2的催化活性,实现了自由基的有效催化,促进了Lu CDs的ECL发射。反应机理表明,该反应器提供了独特的反应环境,而实验和理论计算结果表明,纳米约束反应器在边缘位置实现了助反应物的有效富集,显著提高了助反应物的催化利用率。

图1:COF的SEM (A)和TEM (B)图像。WS2@COF的TEM图像(C、D), HRTEM图像(E)。(F) WS2@COF的电子衍射图像。(G) WS2@COF对应的元素分布。

图2:WS2 (A)、COF (B)和WS2@COF (C)的态密度。H2O2在WS2 (D)、COF (E)和WS2@COF (F)上的吸附模型。
(来源: 济大产研院知识产权服务平台)
5.中科大在单原子催化晶面效应研究中取得新进展
近日,中国科学技术大学曾杰教授团队在单原子催化的晶面效应研究中取得重要研究进展。研究人员通过适当的制备方法,在形貌为截角八面体的二氧化铈最小结构单元上实现了铂在不同晶面上的定向原子沉积。常规的浸渍法制备使铂原子位于八面体侧边占主要暴露的(111)晶面上,而紫外光沉积则使铂原子稳定在截角八面体顶端(100)晶面形成的“纳米口袋”中。不同晶面上的铂单原子展现出迥异的一氧化碳催化氧化性能,其关键影响因素在于不同二氧化铈晶面上铂单原子所处的不同铂-氧配位环境。相关成果以“Facet-dependent diversity of Pt-O coordination for Pt1/CeO2 catalysts achieved by oriented atomic deposition”为题发表于《德国应用化学》杂志(Angew. Chem. Int. Ed. 2024, e202411264)。
二氧化铈丰富的表面物理化学性质如原子排布、变价循环、储放氧特性等,与其所暴露的优势晶面密切相关。因此二氧化铈独特的晶面效应,对其上负载的金属物种和催化性能有巨大影响。而在金属-二氧化铈催化剂的晶面效应研究中,暴露不同优势晶面的二氧化铈纳米材料往往其比表面积、晶粒尺寸等物理化学性质也不相同。因此,亟需发展适宜的催化剂制备方法,在控制单一变量的原则下对金属-二氧化铈催化剂的晶面效应进行分析。
前人的研究结果表明,二氧化铈不同晶面的表面性质存在巨大差异。在水或水溶液中,二氧化铈的(100)晶面相比于(111)晶面更容易产生羟基从而阻碍铂前驱体的吸附,因此铂前驱体更容易吸附在(111)晶面上。根据这一特性,本文中选用的铂前驱体四氨合硝酸铂更易吸附在(111)面上,即可采用简单的液相浸渍法,实现铂原子在 (111)晶面上的制备。另外,当氧化物暴露晶面不同时,光生电子转移到表面所需的能量不同。 (100)晶面相比于(111)晶面,光生电子更易迁移至表面。本文利用这一特性,采用紫外光沉积技术使铂原子吸附并稳定在(100)晶面上(图1)。

图1.二氧化铈载体的晶面特异性表征
为了进一步揭示铂原子在二氧化铈晶面上的落位,研究人员利用球差电镜结合模拟电镜照片结果和对应的三维曲面图证明不同合成方法将铂沉积在了二氧化铈不同的晶面上,线扫的结果表明铂在二氧化铈上的成功负载(图2)。根据对称性的不同可以得知浸渍法将铂负载在(111)晶面上,光沉积法将铂负载在(100)晶面上。

图2.铂在氧化铈不同晶面上沉积
氢气程序升温还原的结果表明两种催化剂的还原峰温度差别明显,表明其金属-载体相互作用的差异显著(图3)。进一步理论计算的结果表明铂原子在二氧化铈的不同晶面上的稳定性不同。具体来说铂原子在(100)晶面上体现出更低的化学势,因此其还原温度更高。

图3.金属-载体相互作用研究
该项研究受到科技部、国家自然科学基金委、中国科学院等项目资助。曾杰教授、山东大学贾春江教授、南开大学刘锦程研究员为该论文的通讯作者,特任副研究员严涵、博士生雷昊凡、山东大学本科毕业生秦学涛为论文的共同第一作者。(来源: 中国科学技术大学)
