天眼查显示,江苏捷捷微电子股份有限公司“一种纵向变掺杂的IGBT结构及制备方法”专利公布,申请公布日为2024年11月15日,申请公布号为CN118969825A。

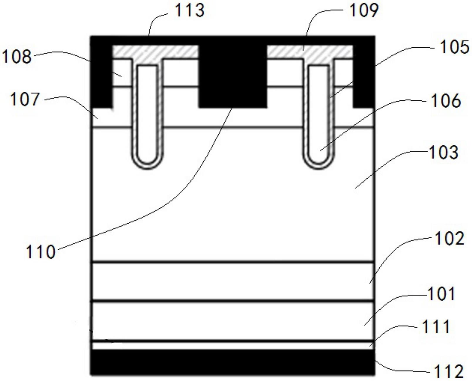
本发明涉及半导体技术领域,尤其涉及一种纵向变掺杂的IGBT结构及制备方法。它包括第一导电类型的半导体衬底。所述半导体衬底的正面有元胞区。其特点是,所述半导体衬底的背面与集电极结构间有过渡区。所述过渡区包括依次覆盖在半导体衬底背面的电场缓变层和场截止层,所述集电极结构覆盖在场截止层的背面。所述电场缓变层为第一导电类型的变掺杂层,所述场截止层为第一导电类型的重掺杂层。采用该IGBT结构可避免后续电场抬高导致的器件失效的情况。
