IT之家 1 月 15 日消息,根据美国商标和专利局昨日(1 月 14 日)公示的清单,苹果公司获得了一项名为《模块化计算机系统和输入设备》的专利,结合了 Mac 和 iPad 的元素,根据用户使用场景,灵活组装设备形态。

IT之家翻译专利摘要内容如下:
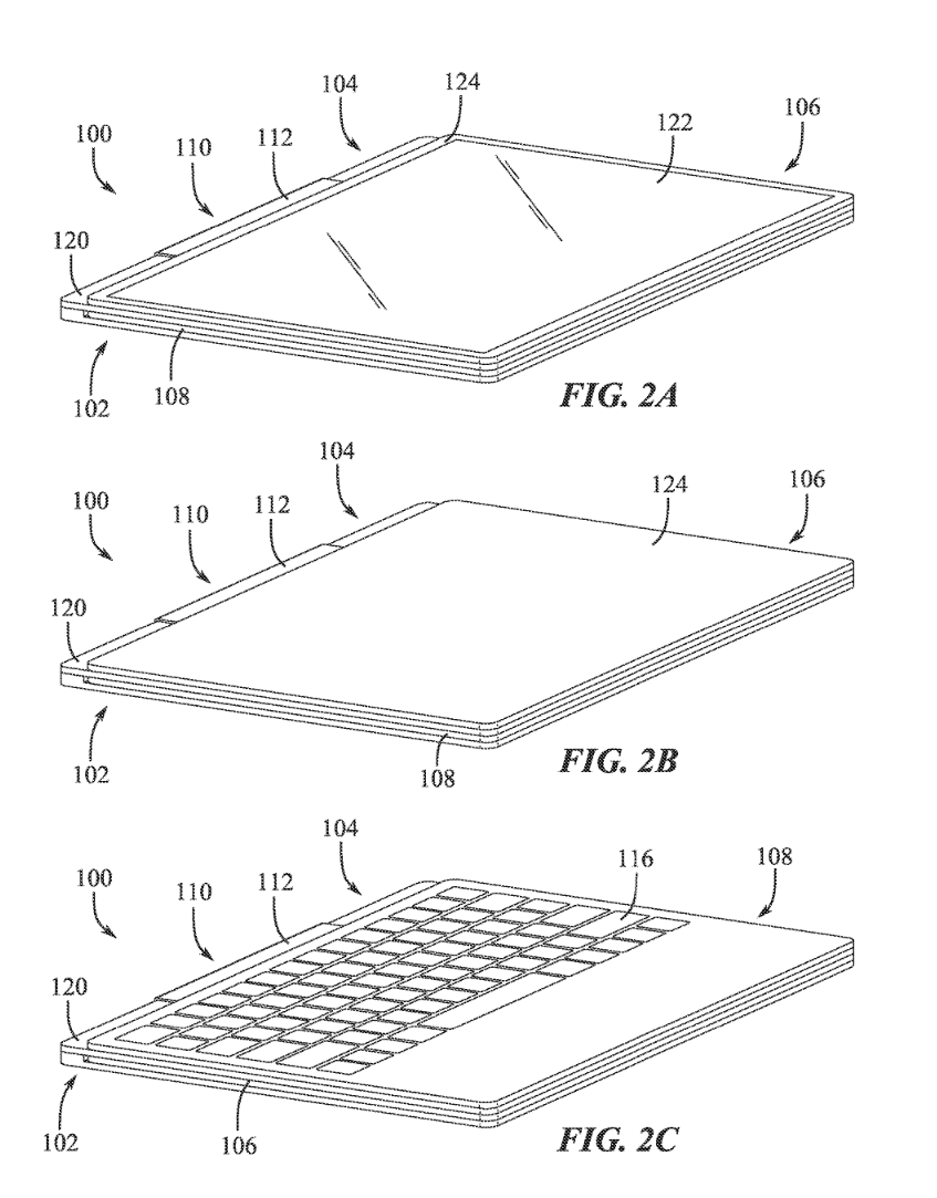
通过重新配置计算设备,实现一个或多个电子设备。该计算设备可以包含一个构成输入表面的基座,用于接收用户输入,基座可以连接一个或多个输入设备,例如显示器或键盘。
底座可包含一个可旋转地连接到底座上的铰链,该铰链被配置为可拆卸连接显示器等设备。
计算设备可包含一个耦合机构,该耦合机构具有第一固定部分和第二固定部分,这两个部分可旋转地耦合到一个中间部分。第一固定部分和第二固定部分可被配置为可拆卸地将电子设备固定到耦合机构上。
例如在公共汽车上或公园长椅上阅读新闻文章时,该设备可以配置为笔记本电脑和平板电脑设备;在桌面办公的时候,可以切换连接到更大的显示器和全尺寸键盘。









