IT之家 2 月 5 日消息,科技媒体 91Mobile 昨日(2 月 4 日)发布博文,报道称三星获批一项智能戒指专利,可以让佩戴者控制平板电脑和笔记本电脑等设备。
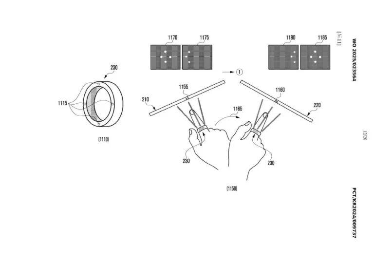
根据专利文件,这款三星智能戒指能够连接带屏幕设备等,示意图显示,智能戒指可以连接笔记本电脑和平板电脑,并控制设备的显示内容和移动对象,实现设备间的无缝连接和控制,甚至可以在不同设备屏幕之间移动内容。IT之家附上专利图片如下:




该专利似乎暗示着智能戒指将能够在两个设备之间共享文件,但这目前只是推测。根据示意图,智能戒指和其他设备需要连接到同一个无线网络。专利文件还提到,该技术的效果之一是能够在电子设备的显示屏和第二个电子设备的第二个显示屏之间提供“自然的连续性”。
