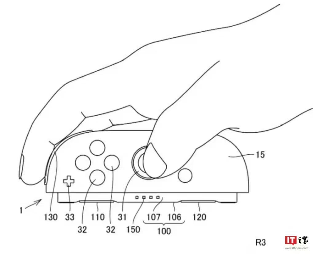
2 月 7 日消息,任天堂昨天公布的一项关于 Switch 2 游戏机 Joy-Con 手柄专利显示其支持作为鼠标使用,这与此前爆料内容相符。
IT之家参考相应专利获悉,Joy-Con 手柄侧面配有光学传感器,因此支持作为鼠标形式使用。专利同时透露每个 Joy-Con 手柄也可连接“外设”设备,这暗示任天堂有望推出 Joy-Con 适用的鼠标风格外壳,让其手感更接近于鼠标。



任天堂上个月正式揭晓了 Switch 2,并发布了一段预告视频,展示了这款主机和 Joy-Con 手柄。视频中也悄悄暗示,Joy-Con 手柄可以像鼠标一样在桌面上滑动。

任天堂计划于 2025 年 4 月 2 日直面会正式公布 Switch 2 详情,目前一切泄露信息仍属传闻范畴,还需以实际发布会情况为准,IT之家将继续保持关注。
