一款名为iPhone Flip的可折叠手机,其设计可能与YouTuber ConceptsiPhone的渲染图相似。
自可折叠手机问世以来,已历经五年多的发展,如今市场上已有三星、谷歌、摩托罗拉(以及OPPO、华为等)的众多设备供消费者选择。然而,在大型手机制造商中,苹果至今尚未推出可折叠手机。最新的柔性屏设备,如Galaxy Z Fold 6、摩托罗拉Razr Plus重启版和Pixel 9 Pro Fold,凭借其成熟的设计和坚固的可弯曲显示屏,几乎让可折叠手机市场被安卓设备所垄断。但苹果,作为世界上最大的智能手机制造商之一,尽管不断有传言称其在研发可折叠设备,但至今仍未有产品问世。目前,我们暂且将其称为iPhone Flip。
2024年9月发布的iPhone 16系列配备了AI相机按钮和iOS 18中的AI功能,而更实惠的iPhone 16E则搭载了苹果首款自研调制解调器。然而,我们尚未收到关于可折叠iPhone的任何官方消息。苹果最近的重点是Apple Intelligence,这是一套生成式AI工具,现已应用于iPhone 16和iPhone 15 Pro及Pro Max,并将逐步更新至苹果其他产品系列中的设备。苹果可能在软件和AI成为其产品展示焦点的同时,也在稳步研发可折叠iPhone。
甚至有传言称,苹果正在为其iPad和MacBook等其他便携式设备开发可折叠显示屏,尽管可能遇到了技术障碍。在9月份的一篇帖子中,苹果分析师郭明錤表示,可折叠显示屏的技术挑战已将这两款模型的量产推迟到2027年甚至2028年。鉴于其他传言称iPhone Flip最早可能在2026年发布,我们或许能见证一款可折叠iPhone先于配备柔性显示屏的iPad或MacBook问世。
目前尚不清楚苹果是否以及何时会将重心从AI转移到推出iPhone Flip,但最近的传言表明研发工作仍在继续。7月份的一份报告(由The Verge报道,The Information首次报道)显示,苹果已全力投入一款翻盖式可折叠iPhone的研发,并已超越概念阶段,为其提供了代号“V68”。如果一切顺利,该报告称iPhone Flip最早可能在2026年发布。
最新的传言再次确认了iPhone Flip可能在2026年发布的预期,尽管也可能推迟到2027年。分析师郭明錤在3月初报告称,苹果的设备可能在下一年年底发布,并将配备7.8英寸无折痕内屏和5.5英寸外屏——这将使其成为一款类似三星Galaxy Z Fold 6的书页式可折叠手机,而非其他传言所暗示的翻盖式可折叠手机。
因此,郭明錤预计其价格将在2000美元至2500美元之间,与其他类似的可折叠设备相当。尽管价格高昂,但他表示,初步预计出货量为300万至500万台,这是一个令人信服的估计,因为市场研究公司IDC报告称,2024年仅售出了19.3万台可折叠设备。
这再次证实了之前的传言和消息。苹果在7月获得的一项新专利,是多年前申请的,显示了该公司研发可折叠iPhone的悠久历史,尽管许多报告都聚焦于该公司努力消除内部折叠显示屏折痕的问题上。自2020年可折叠手机开始问世以来,折痕问题就一直困扰着这一领域,尽管最新的三星Galaxy Z Fold 6和三星Galaxy Z Flip 6已经显著减少了折痕,但折痕依然可见可感。
之前的传言表明,苹果一直在研发两种不同尺寸的iPhone Flip型号,但在满足苹果严格标准方面存在困难。该公司可能还在研发一款屏幕尺寸接近iPad Mini的可折叠平板电脑。
然而,我们可能还需多年才能见到iPhone Flip。根据9to5Mac的报道,到2024年中,TrendForce的市场分析师估计,显示屏折痕问题可能会将苹果的可折叠手机推迟到2027年。此前的传言称,苹果可能要到2025年才会推出自己的柔性屏设备,而三星则通过发布一款应用程序,让苹果手机用户通过并排放置两部iPhone来体验Z Fold式的操作,以此不让手机爱好者忘记这一期待。至少,根据MacRumors的报道,8月份的一份投资者笔记显示,由于显示屏问题,苹果的可折叠设备可能无法达到其2025年的量产计划。
几年前,在2017年,人们曾预测可折叠iPhone可能会在当时的近期2020年发布——但这并未成真。自那以来,分析师和泄密者一直在推迟发布日期,而传言和愿望清单也一直存在,因为手机爱好者们仍抱有希望。在苹果未提供任何确认细节的情况下,这是我们目前所了解的关于该公司未来涉足可折叠手机领域的所有信息。
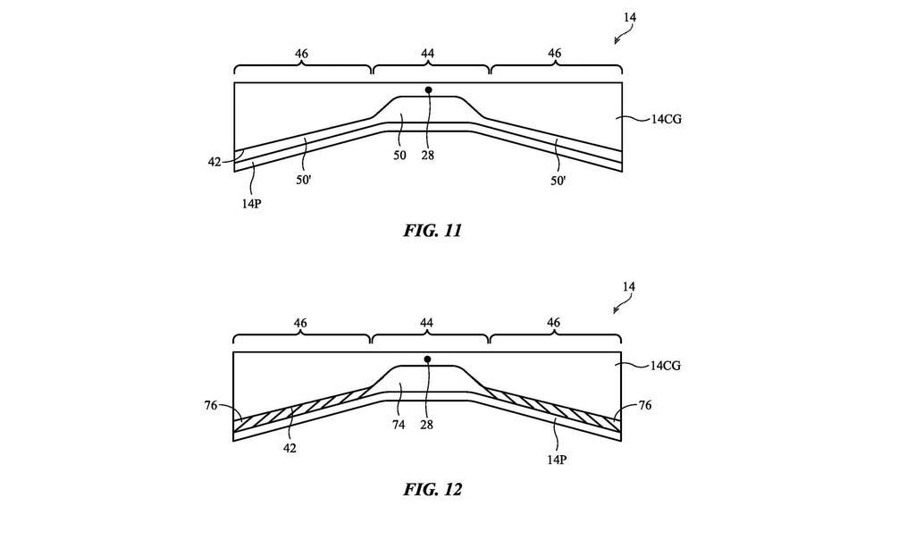
苹果专利(编号12,041,738)中两款潜在显示屏的横截面示意图,这些显示屏围绕铰链凹槽折叠。美国专利商标局
多年来,关于苹果研发可折叠手机的传言不断,最终该公司获得了一项专利,证实了其一直在努力研发可折叠iPhone。这项22页的专利(PDF),名为“具有耐用折叠显示屏的电子设备”,于2021年11月提交,并于2024年7月16日获得批准。
遗憾的是,对于渴望拥有折叠iPhone的消费者来说,这项专利并没有提供太多关于iPhone Flip外观的具体信息。大多数页面展示了描绘潜在显示屏横截面的图形,这些显示屏围绕铰链折叠,但并未展示它们所围绕的设备。
专利文本的深入部分提供了一些细节,暗示了苹果可能做出的潜在设计选择,如一个铰链设计,它在展开时使显示屏保持平整,但如果在设备掉落时受到震动,显示屏会“围绕弯曲轴略微折叠”——换句话说,如果掉落,设备会向内略微折叠,以便其边缘着地,从而保护内屏。
重要的是要注意,所有证据都表明苹果正在研发可折叠iPhone,但这项专利广泛适用于一般折叠显示屏——也就是说,一些图形示意图描述了一种可能应用于多种设备的“折叠显示屏”,这些设备包括“蜂窝电话、平板电脑、笔记本电脑、手表设备或其他可穿戴设备、电视、独立计算机显示器或其他监视器”,以及车辆、售货亭、媒体播放器或其他电子设备上的屏幕。
专利的其余部分描述了具有折叠显示屏的苹果设备可能具备的功能,并列出了电池和无线充电、蓝牙和Wi-Fi连接、LED或LCD显示屏、麦克风和电容式传感器、触觉反馈等功能。明确提到了显示屏可折叠180度或完全展平,这与其他大多数可折叠设备相同——可以推测,苹果不会跳跃式超越竞争对手,不会采用我们在CES上看到的三星概念显示屏,该显示屏几乎可以展开360度。
至少,可折叠iPhone爱好者会受到鼓舞,因为苹果似乎仍在继续研发iPhone Flip设计。据报道,该公司正在研发两种尺寸的可折叠iPhone:书页式和翻盖式。根据The Information较早前的报道(尽管该网站较新的报道可能与此相抵触),苹果可能已决定为较小设备采用翻盖式设计。这与之前的传言一致,暗示iPhone Flip将采用翻盖式设计,类似于三星Galaxy Z Flip系列或摩托罗拉Razr Plus。
据报道,苹果似乎一直在努力满足其高期望:该公司的设计团队希望iPhone Flip的厚度能达到当前iPhone型号的一半,并且在设备折叠关闭时,外部显示屏仍然可见。
据较早前的报道,iPhone Flip的研发工作大约在2020年停滞,以便专注于一个新项目——可折叠iPad。这款设备将配备8英寸显示屏,尺寸接近iPad Mini。据称,这款可折叠平板电脑的耐用性和厚度要求不那么严格,因为它不需要像iPhone Flip那样放入口袋。苹果仍在努力减少折叠显示屏中间的折痕,并让iPad能够完全展平。
关于iPhone Flip发布日期的最新迹象出现在3月初,当时分析师郭明錤预测,该公司可能在2026年底发布一款无折痕的可折叠手机。此外,这很可能是一款书页式可折叠手机,配备7.8英寸内屏和5.5英寸外屏,这与其他预测中预计的翻盖式可折叠手机相反。
这些时间线预测可能适用于其中一种或另一种,或者由于传言的模糊性质,甚至两者都适用——也就是说,苹果可能正在同时研发书页式和翻盖式可折叠手机,但尚不清楚发布日期预期是否可以互换,或者苹果是否会错开发布时间。
多年来,苹果一直在研发可折叠iPhone,这已是公开的秘密。该公司已经为可折叠技术注册专利近十年,尽管即使经过所有这些研究也无法保证一定会推出(还记得AirPower吗?),但多年来仍一直流传着有关它的传言和可能的发布日期——尽管还没有一个足够可靠的消息让人兴奋起来。
早期的传言可以追溯到2021年,当时将其视为一个潜在的目标日期,但那一年过去了,却没有看到可折叠iPhone的身影。2021年3月,长期关注苹果的分析师郭明錤(通过MacRumors)的一份报告暗示,2023年可能更现实(尽管随着这一年的结束,这种可能性正在减少)。据郭明錤称,苹果在将这种设备推向市场之前,仍需要解决技术和量产问题,因此还在等待。2021年晚些时候,彭博社的马克·古尔曼的推测与郭明錤的预测一致:在他的《Power On通讯》中,古尔曼表示,可折叠iPhone可能还要等两到三年才能问世。
自那以来,新的传言指向了更晚的发布时间。可靠的显示屏分析师罗斯·杨在2024年2月表示,可折叠iPhone的发布时间已被推迟到2025年,郭明錤在2022年4月的一条推文中也重申了他的预测发布窗口。
“苹果最早可能在2025年推出其首款可折叠产品,这可能是可折叠iPad或iPad和iPhone的混合体,”郭明錤在推文中写道。
另一个传言最初由MacRumors在2024年2月通过微博博主Fixed Focus Digital注意到,暗示可折叠iPhone项目在可预见的未来将被推迟。问题是什么?据传言,苹果正在为iPhone Flip的显示屏使用三星折叠面板,但在测试几天后,苹果对屏幕性能感到不满意。
这与TrendForce市场分析师最近的估计不谋而合,该估计由9to5Mac报道,指出苹果的可折叠设备可能最早要到2027年才会面世。原因何在?皆因苹果对设备的可靠性和显示屏折痕有着极为严格的要求。然而,明錤郭在2025年3月的最新预测中明确提到了无折痕的可折叠显示屏,这或许暗示苹果已经攻克了这一技术难题——当然,前提是这些传言属实。
2021年,彭博社的一份报告披露,苹果已拥有可折叠iPhone显示屏的工作原型。尽管它并非完整的工作模型,但相较于专利文件,这无疑是向前迈进了一大步——在此之前,这是我们所能窥见的全部。

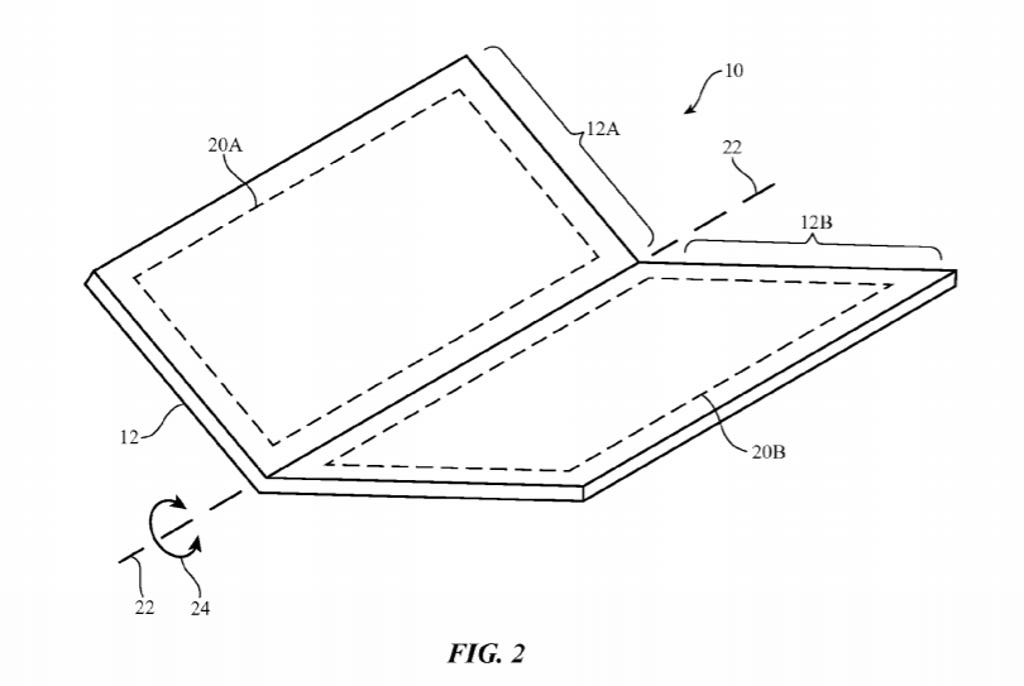
依据苹果的专利申请,此插图描绘了一个“沿柔性部分(如与铰链相关联的柔性接缝)弯曲的设备”。苹果/美国专利商标局
在可折叠显示屏领域,苹果似乎已涵盖了所有可能的专利,从折纸风格的折叠显示屏到翻盖式显示屏,乃至环绕式显示屏。我们无法预知最终将采用哪一款设计,但明錤郭与彭博社似乎均认同,当前的原型更倾向于传统的折叠式设计。
与微软Surface Duo不同,后者将铰链置于外部,而苹果的iPhone则有望配备连续显示屏,并采用隐藏的铰链机制,这一设计理念与Galaxy Fold颇为相似。
苹果泄密者乔恩·普罗瑟在2021年初透露,iPhone Flip可能会采用翻盖式设计,并提供多种“吸睛色彩”。鉴于iPhone 15及Plus系列的鲜艳色彩,以及iPhone 15 Pro和Pro Max的深邃蓝色,为苹果首款可折叠设备推出一系列引人注目的色彩方案,显然是大有可能的。
YouTuber ConceptsiPhone还通过一系列可折叠iPhone的概念艺术作品,向我们展现了iPhone Flip可能的外观,这些作品展示了蓝色、红色、金色和绿色等多种色彩的可折叠iPhone。
2025年3月,分析师明錤郭做出了一项极为具体且非翻盖式的预测:苹果将推出一款书页式可折叠手机,该手机配备5.5英寸外屏,展开后拥有7.8英寸内屏,展开时厚度为4.5-4.8毫米,折叠时厚度则为9-9.5毫米。它将采用与“超薄iPhone 17”相同的高密度电池单元,并配备由不锈钢和钛合金打造的铰链(这些材料同样被广泛应用于苹果iPhone 16 Pro和Pro Max以及Apple Watch Ultra 2)。
根据郭明錤的预测,这款可折叠手机将在外部和内部显示屏上各配备两个后置摄像头和一个前置摄像头。尤为有趣的是,郭明錤还预计,由于空间限制,苹果的书本式可折叠手机或将重新引入Touch ID作为侧边按钮,而Face ID则可能会被省略——这可能是因为该技术需要一系列景深传感器和摄像头的支持。

CNET
三星及其他公司一直在试探市场反应,而苹果则始终在从这些可折叠设备的痛点中汲取经验,并探索它们的使用方式。
折痕便是这些痛点之一。目前,包括三星在Z Fold和Z Flip上使用的玻璃与塑料混合物在内的许多覆盖材料,在展开成全屏时都会留下明显的折痕。为规避这一问题,苹果可能不得不等待其玻璃供应商康宁公司研发出某种可弯曲版本的Ceramic Shield屏幕。康宁公司已在研发可弯曲玻璃,但尚未公布具体的发布日期。
郭明錤在2022年4月发推文称,苹果正在测试可折叠OLED屏幕。韩国科技新闻网站The Elec也报道说,苹果正与LG携手开发可折叠OLED面板。
价格是这类设备面临的另一大挑战。尽管三星的Z Flip 5以999美元的价格成为市面上最实惠的折叠手机,但该类别中的大多数其他手机均为书本式可折叠设计,如Galaxy Z Fold 5和Pixel Fold,它们的价格几乎是大多数旗舰手机的两倍。我们有理由相信,可折叠iPhone的价格不会低于竞争对手。苹果的可折叠手机需与当前市场上的可折叠及非可折叠机型保持竞争力,才能吸引iPhone用户放弃单屏设备,转而购买价格更高的可折叠手机。
去年的一份报告显示,尽管苹果用户相较于三星或LG用户更不愿尝试新事物,但仍有一半的美国消费者对购买可折叠手机表现出浓厚兴趣。或许,当可折叠iPhone成为现实时,“苹果效应”将改写这些统计数据。
欲了解更多信息,请查阅iPhone 15系列的所有机型。同时,您还可以关注2024年最值得期待的手机。
