IT之家 3 月 12 日消息,科技媒体 patentlyapple 昨日(3 月 11 日)发布博文,报道称苹果公司获批新专利,涉及未来 Vision 系列头显(HMD)的混合视线追踪系统。
该系统结合超声波与成像数据,能够更精准地追踪用户视线方向,并提升用户身份验证的准确性。这一技术有望为增强现实(AR)和虚拟现实(VR)设备带来更流畅的交互体验。

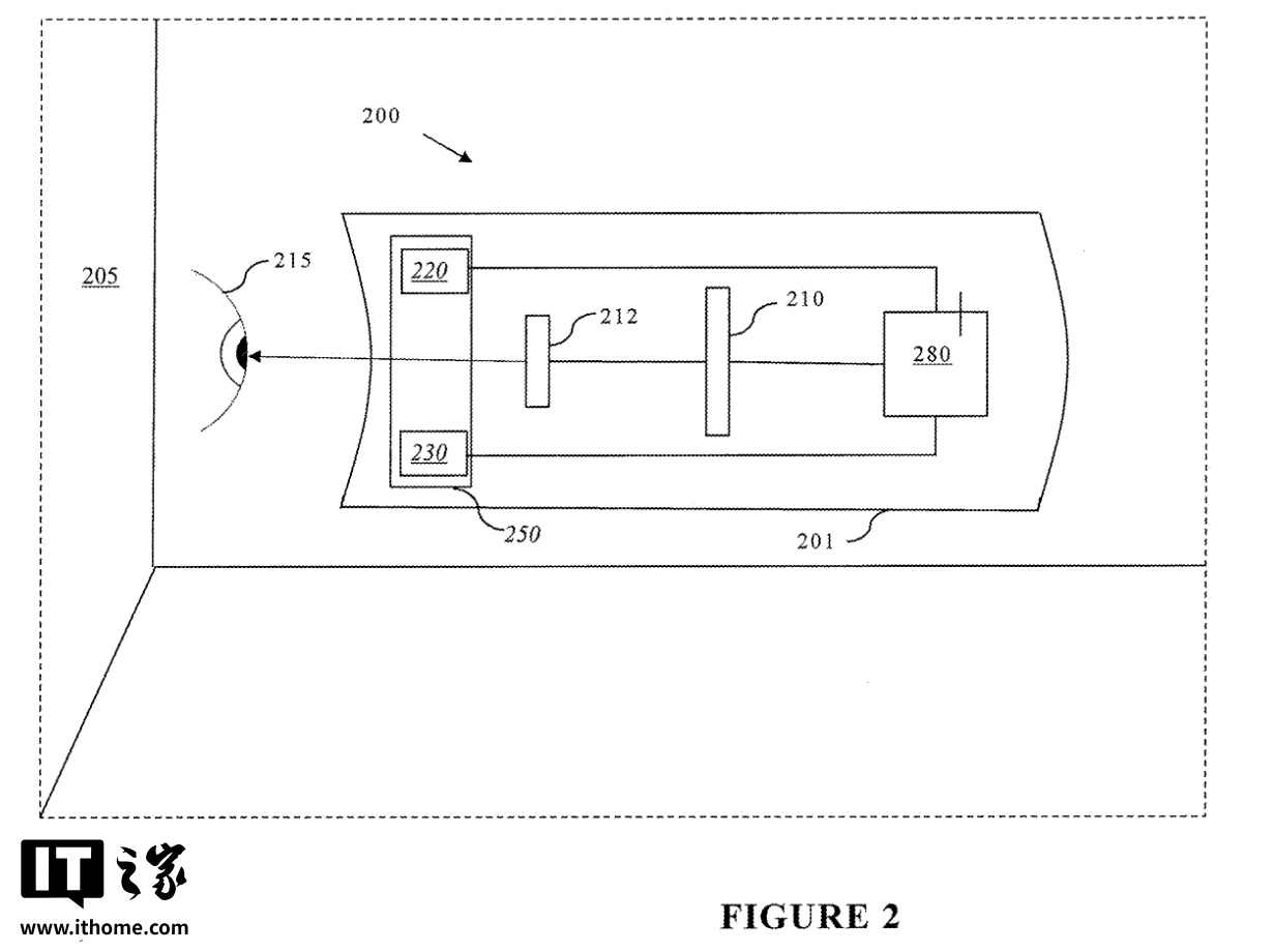
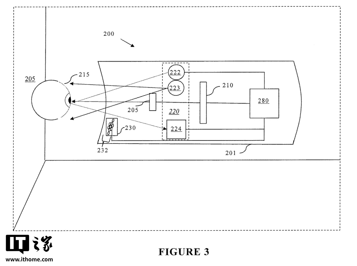
IT之家援引博文介绍,该系统结合光基测量和超声波测量,获取眼睛的三维坐标信息。光基测量数据受温度、气压和气流影响较小,而超声波数据则对杂散光不敏感,两者结合可有效应对环境干扰。
系统首先通过光基测量检测眼睛的第一属性,并基于深度信息确定其在三维坐标系中的位置;接下来通过超声波测量获取眼睛的第二属性,并结合三维眼部模型确定其位置;最终,基于这两个位置信息,系统计算出用户在三维坐标系中的视线方向。


系统结合超声波生物特征与成像生物特征,进一步提升用户身份验证的准确性和安全性。该技术不仅适用于苹果未来的 Vision 系列设备,还可广泛应用于 AR / VR 领域,为用户提供更自然、精准的交互体验。
