IT之家 3 月 12 日消息,科技媒体 MySmartPrice 昨日(3 月 11 日)发布博文,报道称摩托罗拉获批一项折叠手机专利,描述了一款配备低剖面天线的书本式折叠手机,支持卫星通信。
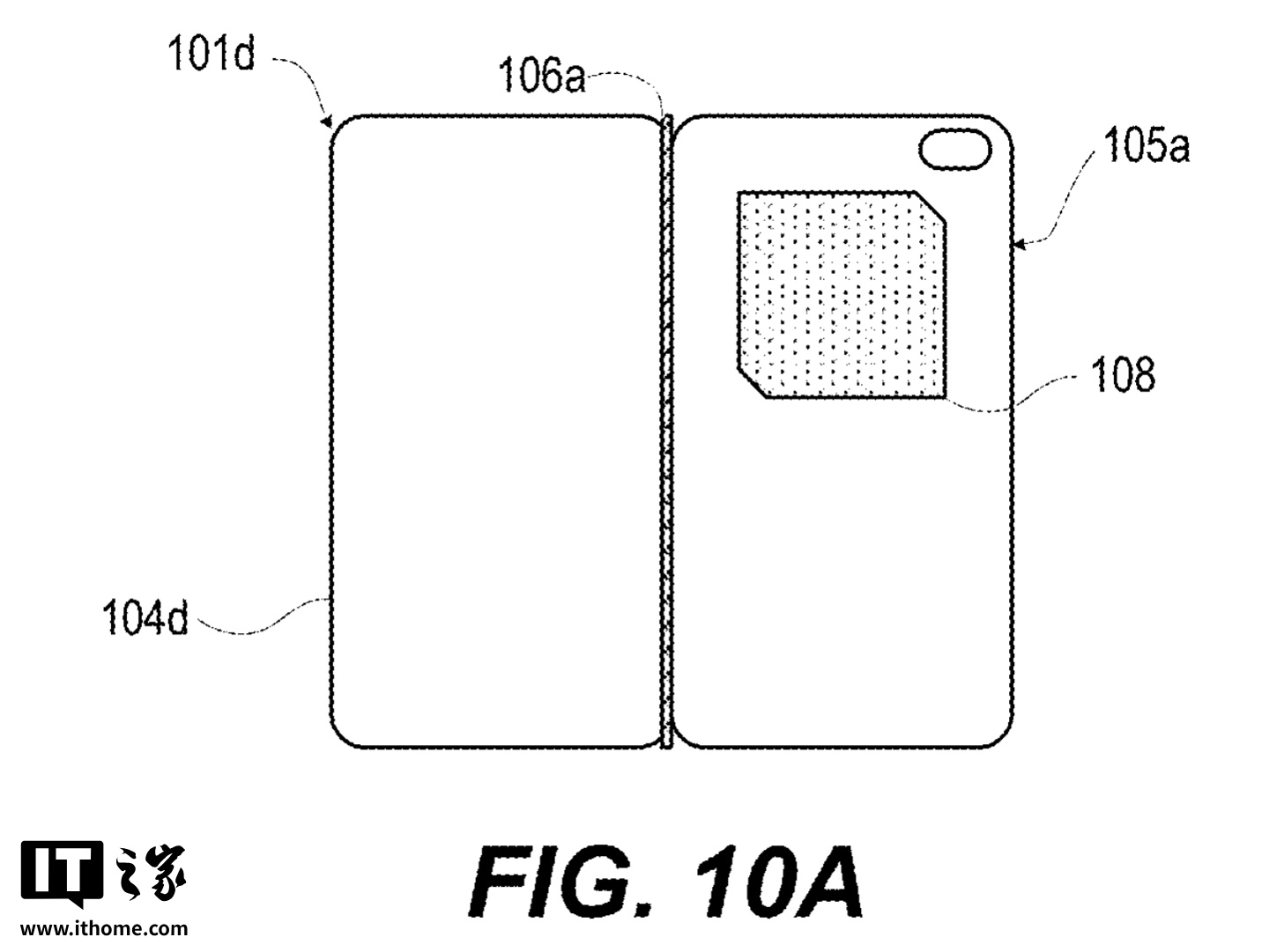
IT之家援引博文介绍,该专利于 2023 年 8 月提交,于 2025 年 3 月 6 日获批,在专利图 10A 中展示了设备的展开状态,从背面可见左侧为盖板部分(105d),右侧为主机身(105a),中间通过铰链机制实现折叠。
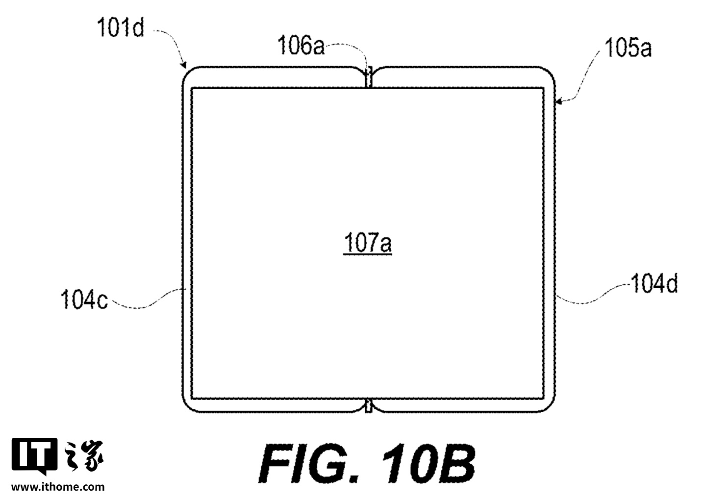
图 10B 显示了设备完全展开的内部视图,暗示摩托罗拉可能推出一款类似三星 Galaxy Z Fold 系列的书本式折叠手机。





专利描述,设备配备了一种低剖面贴片天线,用于卫星通信。该天线集成在设备背面,由接地层、介质基板和导电辐射贴片组成。
专利中还介绍了专用通信子系统,利用该天线实现卫星连接,显示屏则提供实时通信状态、卫星信息和用户控制功能。这一设计确保设备在无传统网络覆盖区域也能提供可靠连接。
