VIVO“电子设备”专利公布
2025-03-29 / 阅读约1分钟
来源:集微网
天眼查显示,维沃移动通信有限公司“电子设备”专利公布,申请公布日为2025年2月28日,申请公布号为CN119545721A。

天眼查显示,维沃移动通信有限公司“电子设备”专利公布,申请公布日为2025年2月28日,申请公布号为CN119545721A。

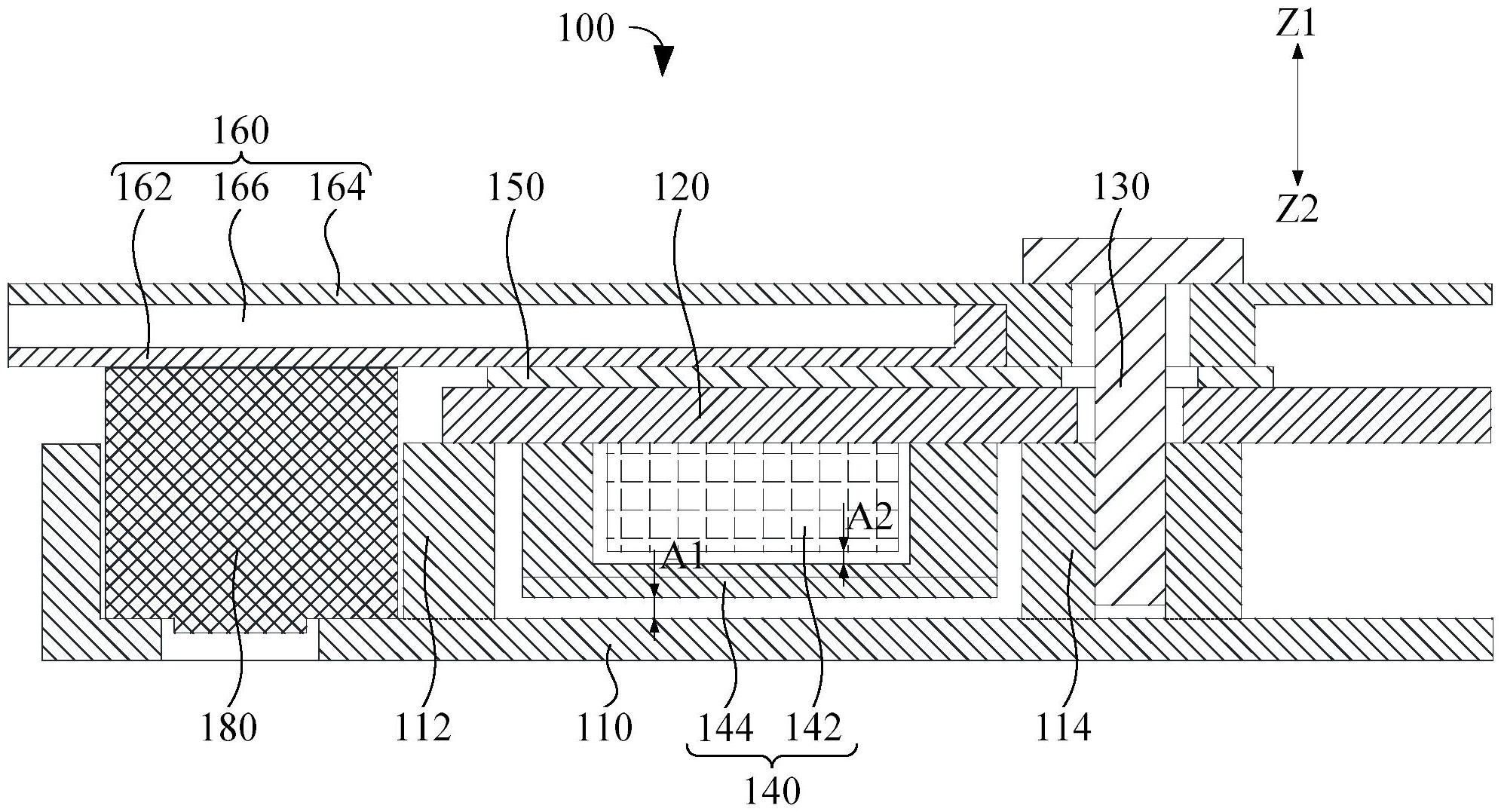
本申请提供了一种电子设备,属于电子设备技术领域,电子设备包括:第一支架,第一支架具有第一支撑部;电路板,位于第一支架的一侧;固定件,将电路板固定在第一支架上;陀螺仪,设置在电路板上,位于固定件的一侧,且陀螺仪位于第一支撑部和固定件之间;其中,第一支撑部抵接于电路板;或第一支撑部通过陀螺仪支撑电路板。