
多知发现,近期,联想旗下摩托罗拉多个专利,涉及到柔性屏幕变形设计,比如一款屏幕可以当做手表、手机,可以戴在手腕上,也可以手持,还可以折叠放在桌子上,并为此设计了相应的功能。
摩托罗拉的专利为智能硬件的进化,开辟了全新的可能性,这也为儿童智能硬件打开了新的想象空间。
当前,儿童手表已经是市场验证儿童智能硬件的核心品类,据洛图科技(RUNTO)线上监测数据表明,2024年儿童智能手表在主流电商平台的销量达863.7万台。
与此同时,其功能受到屏幕大小的制约。摩托罗拉的专利若投入市场,则意味着柔性形态的突破将彻底打破这一物理边界,产生革命性的体验。
美国专利商标局(USPTO)显示,今年8月21日,摩托罗拉申请了一项为“Electronic Devices Having Morphing Device Housings Allowing Wearable and Handheld Modes of Operation(具有可变形设备外壳的电子设备,支持可穿戴和手持两种操作模式)”专利。
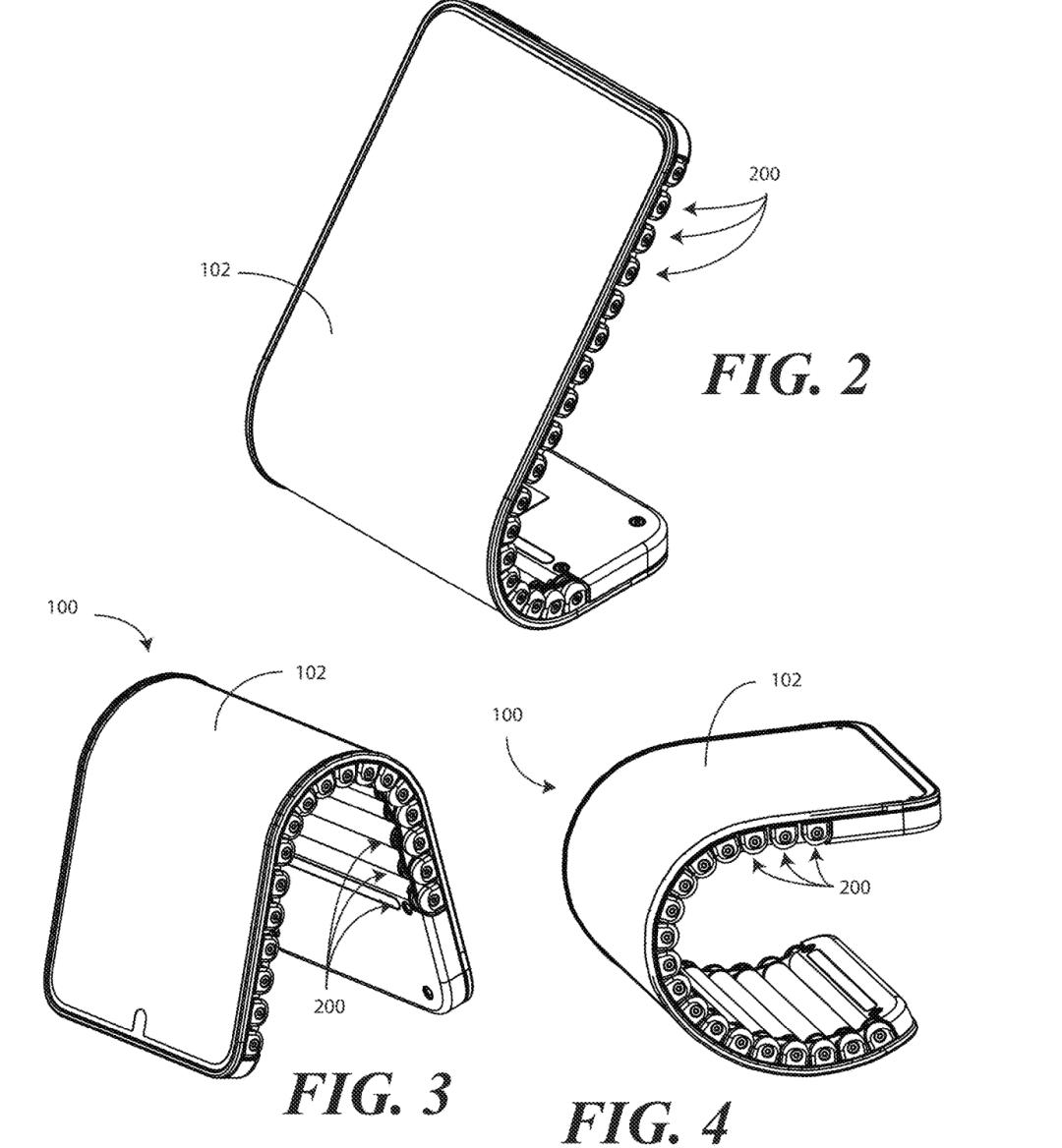
该专利显示,该方案提供可变形电子设备,其可作为自适应显示设备变形成多种形态(包括平面屏、可穿戴、支架等形态)。
这种“卷轴拉伸屏”可以做智能手表,当用户需要查看更多内容时,可以从手腕上摘下手表,设备将自动延展屏幕,让用户获得类似智能手机的阅读体验。
在摩托罗拉看来,智能手机作为人类必备的通讯设备,现在越来越多的人尝试更多的形态,因此,智能手机从固定的直板形态有了折叠形态。
而摩托罗拉得“卷轴拉伸屏”的专利可以一机多用。专利图纸显示,该设备采用柔性可伸缩显示屏,可以配备可调节以适应手腕佩戴的束带,变成智能手表佩戴在手腕上。

也可以匹配提供伸缩 / 折叠功能的铰链,同时配备传感器以帮助设备实时调整屏幕尺寸。从而实现“佩戴时拥有智能手表的便利,按需获得大屏视觉体验”。
不过,这种灵活性在带来丰富使用场景的同时,也产生了特定挑战——尤其在设备佩戴于腕部时:用户必须保持特定朝向才能使闪光灯远离视线;腕部移动或查看设备时,光线可能直射眼睛造成不适。
因此,在今年10月14日,摩托罗拉申请了应对可变形屏幕的方法,专利名称为“Deformable electronic devices and corresponding methods for moving flashlight output as a function of a change in orientation(可变形电子设备及相应方法:根据方向变化移动闪光灯输出)”。
该专利希望该设备在变形状态和非变形状态下都能很好地操作闪光灯。

该专利考虑到,当可变形电子设备处于腕戴状态时,用户难以有效使用手电筒功能。例如,用户必须以特定方向佩戴可变形电子设备,以确保手电筒光线远离其眼睛,从而照亮用户前方所需的区域。
该专利还考虑到,如果手腕移动或用户在行走时瞥视可变形电子设备,手电筒输出可能会无意中指向用户的眼睛,阻碍其自然运动并引起不适。

为解决这些问题,该专利提供了一种新颖的解决方案,用于在自适应可穿戴显示设备的上下文相关部分管理手电筒功能。即,通过技术可以识别或者感应到该设备是否处于腕带状态,从而及时调整相关功能。
也就是说,如果不是腕带状态,可变形电子设备可以自动调整手电筒输出,以照亮柔性显示屏上不在用户直接视线范围内的部分。这确保了手电筒功能得到有效利用,而不会对用户造成眩光或不适。
此外,该专利还设计了用户可以通过特定手势(例如在三维空间中的“砍切”动作)来激活手电筒。这种基于手势的控制提供了一种直观便捷的方式来启用手电筒功能,进一步增强了用户体验。

该专利跟8月份的“卷轴拉伸屏”有相似之处,不过,其形态有一些变化,从专利图可以看到,这种充当智能手机、掌上电脑或平板电脑,还可以直接弯曲以环绕的形态佩戴在用户手腕上(不用加束带)。

这一款设备可以阅读、玩游戏、听音乐,或者其他事情。
可以看到,这种屏幕会更加柔软。而佩戴在手腕上,屏幕显示的挑战会更大,而手电筒只是其中的一个解决方案,真正实现还要解决更多的难题。
尚不清楚摩托罗拉的这项专利能否大规模量产,但是,这项专利展示了摩托罗拉的创新思路和未来技术的探索,显示了手机形态的更多可能性。
为何教育科技公司需要关注这项专利?一方面,智能手表是儿童智能硬件领域的核心品类。另一方面,大模型时代,各类便携智能硬件涌现,迫切需要突破性的便携载体。
对于儿童/青少年而言,手表是一个不容忽视的品类。
据洛图科技(RUNTO)线上监测数据表明,2024年儿童智能手表在主流电商平台的销量达863.7万台,销售额累计38.4亿元,平均售价为444元。
在儿童智能手表的线上市场中,小天才、小米和华为位列前三甲,三者合计市场份额高达45.4%。
值得注意的是,这仅仅是线上渠道的数据,加上线下渠道,儿童智能手表无疑是当前儿童智能硬件第一大品类。
手表的产品形态精准地匹配了儿童的需求、家长的安全需求,它赋予了孩子初步的独立性和连接世界的窗口。不过,儿童智能手表因屏幕所限制,交互主要停留在通话、社交方面,可承载的场景有限。
未来,随着柔性屏幕等形态的创新,这一限制将被打破,手表有望演进为一个承载丰富内容与服务的个人成长平台。
与此同时,在大模型时代,便携式的小硬件层出不穷,各家创业公司都在探索不同的形态、不同功能的儿童智能硬件,在突破屏幕限制之后,将有更大的发挥空间。
未来的儿童/青少年智能硬件,前景可期。
