IT之家 1 月 9 日消息,科技媒体 Appleinsider 昨日(1 月 8 日)发布博文,报道称基于美国商标和专利局(USPTO)公示的清单,苹果公司获批名为“基于天线阻抗测量的手势检测”的新专利,有望革新 AirPods 的交互体验。
该文件显示,苹果正探索一种全新的 AirPods 交互方案:通过移除专用的电容式触摸传感器电路,直接利用射频(RF)天线来识别用户手势。

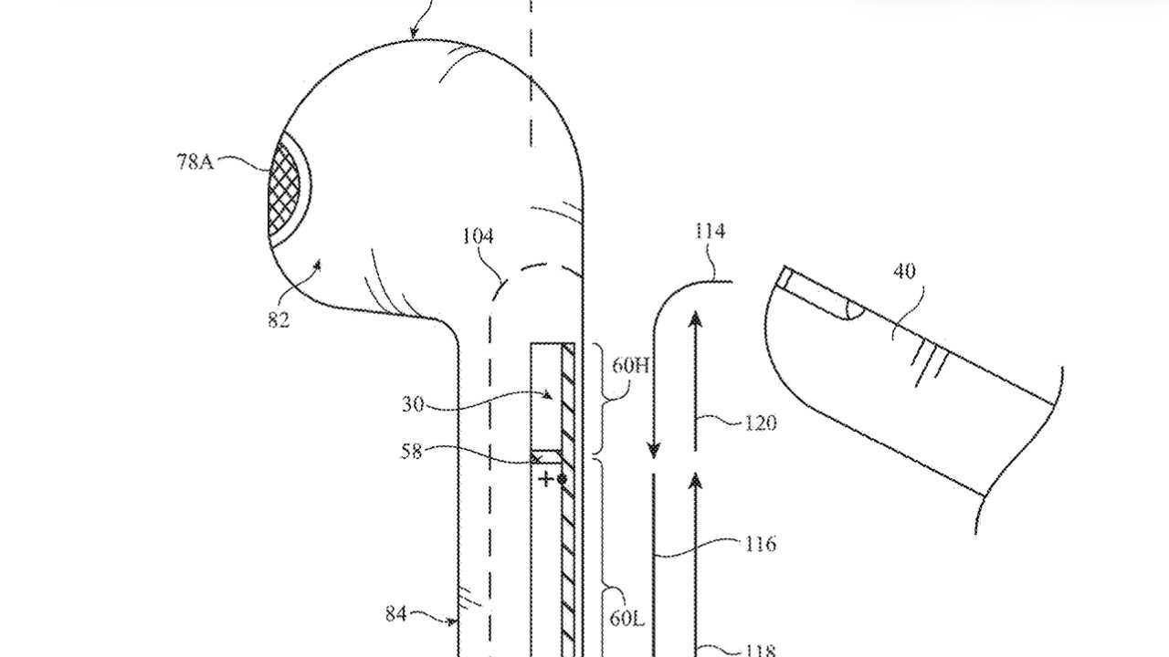
苹果研发团队在专利文件中指出,现有的 AirPods Pro 虽然配备了触摸表面,但这套独立的电容式传感器系统存在明显缺陷:
首先,传感器电极占据了宝贵的内部空间,导致设备体积和重量难以进一步缩减,限制集成其他新组件。
其次,用户在敲击耳机切换歌曲后常能感觉到明显的滞后感,这种“过长的检测时间”严重影响了操作流畅度。
苹果为解决上述问题,提出的解决方案是“一鱼多吃”:让负责接收和传输音频信号的无线电天线兼职做“手势雷达”。
IT之家援引博文介绍,由于音频数据的传输频率远高于电容传感器的刷新率,利用天线进行检测可以显著降低延迟。苹果在专利中强调,基于天线阻抗(Impedance)的变化来检测手势,在响应速度上将优于传统的电容式传感器。

该技术的核心在于监测天线阻抗的细微变化。用户的手指(作为外部物体)靠近或接触耳机柄后,会改变天线阻抗。通过部署双天线系统,算法还能精准测量阻抗变化的速率和顺序。这意味着,系统不仅能识别“点击”,还能准确判断用户是在“向上滑”还是“向下滑”,从而精准执行音量调节等复杂指令。
