IT之家 11 月 13 日消息,惠普似乎正在研发一款全新的折叠设备,从目前的专利图来看,其形态与去年发布的 Spectre Fold 大相径庭。惠普今年早些时候已经停止使用“Spectre”品牌。

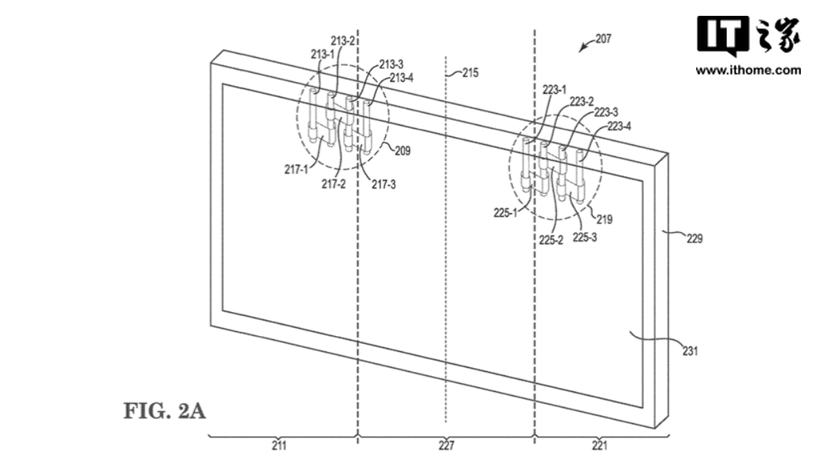
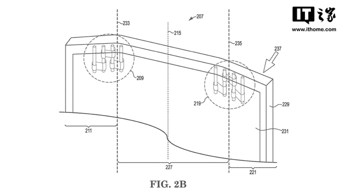
美国专利商标局(USPTO)近期公布了一份由惠普提交的 16 页专利文件。该文件于 2021 年 4 月提交,但直到今年 11 月才正式公开。文件详细描述了一种可折叠设备,采用柔性显示屏、铰链和弹簧机制,可折叠成紧凑的形态。
从专利图中可以看出,该设备采用“三折屏”设计,可以将屏幕两侧向内折叠,形成一个更紧凑的形态,比 Spectre Fold 的折叠方式更加“极端”。




惠普在专利文件中表示:“柔性平板显示技术的进步,特别是可卷曲显示屏的发展,使得制造更轻薄、便携的产品成为可能。”
值得注意的是,惠普今年已经放弃了 Spectre、Pavilion 和 Envy 等传统品牌,并推出了全新的 Omni 和 Elite 品牌,分别面向消费者和企业市场。去年推出的 Spectre Fold 是一款 17 英寸的折叠屏笔记本电脑,售价高达 4999.99 美元(IT之家备注:当前约 36189 元人民币),搭载英特尔酷睿 i7-1250U 处理器、16GB 内存和 1TB 固态硬盘。

值得一提的是,华为此前推出了全球首款三折叠手机 Mate X,三星也申请了一项三折叠手机专利。
