一波未平,一波又起,哪吒汽车再向万丈深渊迈进了一步。
近日,噩耗传来,哪吒汽车“债转股”方案失败。哪吒汽车欠供应商的总款项约60亿元左右,原定只需要化解一半的债务即30亿元,投资方才愿意提供新的资金。
但消息透露,愿意接受“债转股”方案的供应商仅能帮助哪吒化解20亿出头的债务,“剩下几亿元实在啃不动了。”
所谓“债转股”,便是将企业的债务转化为投资持股,债权人身份转变为股东,以减轻企业债务。
此前3月,哪吒汽车宣布,经过三轮磋商,已与134家核心供应商达成共识,共同签署超20亿元的债转股协议,其中包括宁德时代、国轩高科、瑞浦兰钧等业内头部。也就是说,供应商们将支持哪吒汽车通过化债来推动融资,尽快复产复工,并鼓励其出海共谋发展等。

图源:微博
原本这无疑是一个乐观的信号,但是现在看来,“债转股”走向失败,哪吒汽车翻身的希望再一次变得渺茫。
不过,有“金主”仍想保住哪吒,条件是罢免哪吒汽车创始人、董事长兼CEO的方运舟。

方运舟 图源:微博
去年12月,作为哪吒汽车创始人、董事长的方运舟发布了一纸内部信,坦言了哪吒所遭遇的危机,以及公司在战略、组织、管理体系上暴露出一系列问题。
舆论瞬间扩散,时任哪吒汽车CEO的张勇卸任,方运舟也从幕后走向台前,接手了哪吒汽车CEO的职责,开始了半年的“自救”。
不过,事态似乎没有一路向期望的方向进展。
3月,传出哪吒汽车高管双双离职的消息,CTO戴大力和智驾负责人王俊平,一个去了奇瑞,一个去了商汤绝影。
4月,300多家经销商在桐乡工厂联合向哪吒汽车讨债的视频在网络疯传。

图源:视频截图
视频中,经销商们提出了三点诉求:首先,赔偿2024年9月至今的运营损失、预支2025年5月到7月的经营成本。其次,所有打款未发车拖欠的返利和补贴,必须在5月11日前一次性返还。最后,尽快恢复售后服务体系,别让四十多万哪吒车主被彻底抛弃。
其后,网传视频显示,方运舟在面对供应商及经销商的追问时,鞠躬道歉,并表示会尽快解决问题。

方运舟鞠躬道歉 图源:微博
当时,方运舟还向供应商、经销商们承诺:对于配件供应将于4月30日前完成,保证40多万车主的维修问题。经销商未发运的车辆,一周内想办法解决。同时,会持续找投资主体,同时跟股东商量增投。
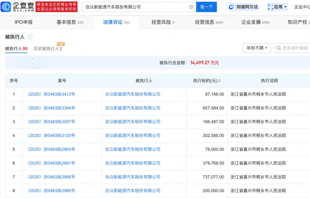
5月,天眼查APP显示,哪吒汽车母公司合众新能源汽车公司新增股权冻结信息,方运舟被列为被执行人,冻结股权数额2000万元。且截止5月,合众新能源名下涉及司法案件信息已经达到400多条,被列为被执行人达95次,被执行金额达到约1.45亿元。

图源:微博

图源:企查查
与此同时,全国企业破产重整案件信息网显示,哪吒汽车关联公司合众新能源汽车股份有限公司新增一则破产审查案件。
案件申请的公司表示:哪吒汽车目前欠其530多万,其认为,哪吒汽车的资产已经不足以偿还债务,因此申请破产审查。

图源:微博
时间来到5月底,位于上海长宁区的哪吒汽车上海总部外墙的“哪吒汽车”LOGO又被拍到已被拆除,一并被拆除的还有位于总部的哪吒体验中心的标志。
对此,哪吒汽车回应表示,撤下LOGO是因为场地到期,公司即将搬家。“原来的那栋楼太大了,现在人少没必要,就换了个办公点。”

图源:微博

图源:微博
可以说,半年来,哪吒汽车的命运如风中一叶浮萍,难以自控。
不过,严谨地说,不论是“债转股”失败还是撤下总部LOGO,亦或是方运舟被冻结股权,都不意味着哪吒汽车被彻底“宣告死刑”,或许在最终结果到来前,还有一线生机。
从宣告危机至今已经半年过去,哪吒汽车仍在生死线边缘徘徊。
令人无限唏嘘的是,曾几何时,它也有过属于自己的辉煌时代。
2014年 10 月 16 日,原奇瑞汽车高管方运舟,告别自己一手创办的奇瑞新能源业务,在浙江桐乡创立了合众新能源汽车股份有限公司,决心开启自己的创业征程,这便是后来的哪吒汽车。
彼时,意气风发的方运舟,遇到的第一个问题便是融资困难,万幸有桐乡当地的国资入股,才避免了哪吒汽车“夭折在摇篮”。
此后,哪吒汽车不断地在寻求融资、甚至冲刺科创板IPO 以及港交所上市,以解决资金方面的难题。一直到2019年,哪吒汽车成功完成 B 轮 30 亿元融资,资金困境才得到较大的缓解。
2021年,哪吒汽车完成D轮融资,累计超30亿元,获得了360、宁德时代等领投。2022年,哪吒汽车再次获得中国中车、深创投等20亿元注资,累计融资超200亿元。
这一年,也是哪吒汽车的高光之年,销量一路狂奔、钱包也逐渐鼓起来:
2022年,哪吒汽车销量15.2万辆,同比增长118%,连续多月卫冕新势力“销冠”,一度力压 “蔚小理”,是新势力中黑马一般的存在。

图源:微博
然而,辉煌并未延续,转折出现在2023年,销量开始出现明显下滑。
数据显示,2023年哪吒汽车全年销量约为12.75万辆,同比大幅下滑16.16%。此后的2024、2025,这一趋势非但没有得到遏制,反而愈发严峻。24年,销量进一步暴跌49.37%至6.45万辆;25年,公开数据显示,1-2月的销量仅110辆和377辆。

图源:微博
过山车一般的销量数据和命运走向,原因或许可以追溯到,哪吒汽车内部严重混乱的管理。
十年内,哪吒汽车高管更新交接的频率远比想象中高。光是创立第一年,法定代表人就更替了三次,从张辉到王娟再到方运舟。
2017年,又经历了董事长从方运舟变更为地产大亨王文学;2018年,北汽新能源前副总张勇加盟,担任总裁,方运舟退居幕后。
决策层的频繁变动,直接导致了营销方向和产品规划上的朝令夕改。2022 - 2023年间,哪吒汽车的光营销体系就历经了 6 次架构调整。
甚至,由于部门之间权责划分混乱,致使多个关键项目无奈流产。比如,曾规划的面向家庭用户,价位10-15万元的大七座SUV项目,因战略资源被其他项目挤占,遭遇搁浅。
产品上,哪吒汽车更是做出了一个错误的决定。2022年,哪吒V 凭借 8 万元的亲民低价,精准切入市场空白,打造了销售神话。
然而,第二年,哪吒汽车贸然将发展重心转向中高端市场,推出了轿跑哪吒S和更加小众的哪吒 GT 等车型,导致品牌形象混乱,最终销量一路下滑至谷底。

哪吒GT 图源:微博
总而言之,发展契机转瞬即逝,新能源的角逐战,也远比想象中更激烈。哪吒汽车能否度过这场寒冬,目前仍是一个未知数。
