手机无线充电见惯不怪,新能源汽车的无线充电倒是还很少见。
不久前,美国专利商标局披露了特斯拉公司旗下4项涉及汽车无线充电的技术专利,而特斯拉未来的汽车也有望获得基于磁共振等方案打造的无线充电能力。
早在今年3月,特斯拉就在Cybertruck中加入了一个感应式充电器接口,用来匹配后续加入的无线充电装置。

2023年,特斯拉收购了德国的一家无线充电初创公司Wiferion,但不久后将公司的运营和制造业务卖给了德国的电源电子供应商PULS,并将Wiferion的工程团队保留了下来。
种种迹象表明,特斯拉对车载充电无线化有一定的兴趣,为了挖来一整个工程团队,不惜买下一家公司,再卖出去。新能源汽车领域其实也有类似的无线充电案例,只不过一直没有大规模投入商用,特斯拉是否会给汽车无线充指明道路呢?
Wiferion首席设计师Franz von在与Jay Leno的一次采访中确认,特斯拉正在开发一种面向家庭的无线充电解决方案。这说明特斯拉不仅没有放弃无线充电技术,甚至还为汽车无线充电找到了一个合适的投放场景。但目前来看,特斯拉的动向主要是给Cybertruck增加了一个无线充电硬件的接口,但这不意味着可以直接支持无线充电。

据介绍,Wiferion的无线充电技术能够提供高达93%的充电效率,并在车辆定位时具有40mm的容错空间。
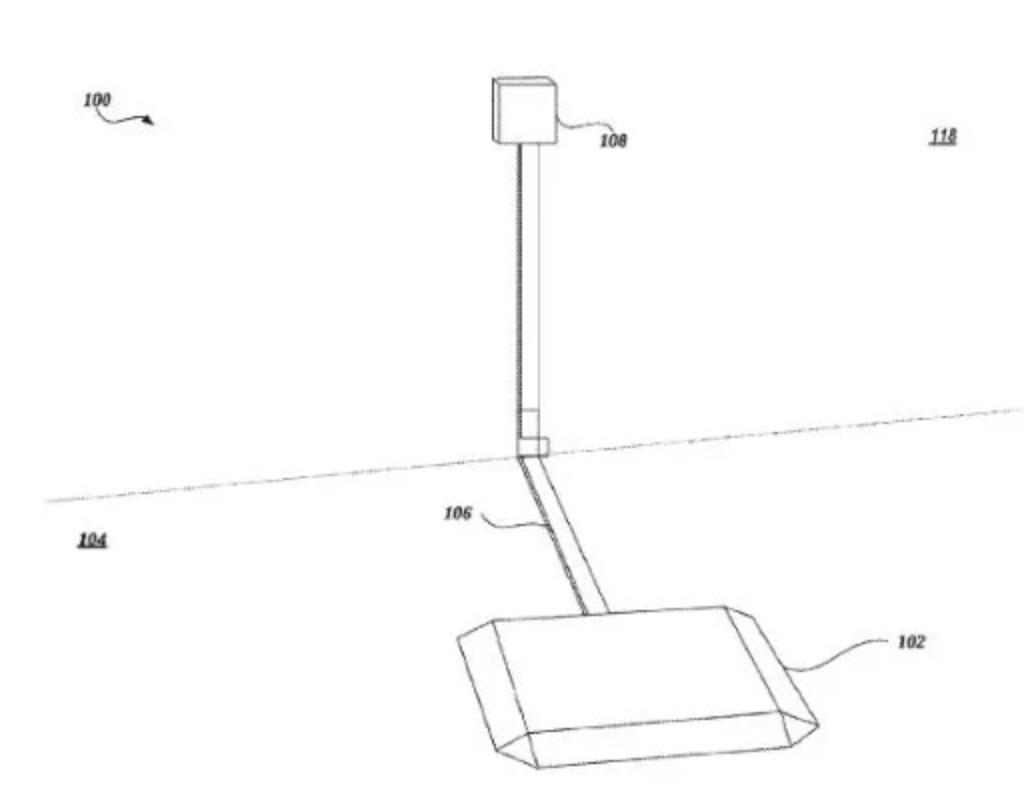
从专利上看,车载无线充电只需要两个装置,可以大概理解为一个放在车位上的“发射线圈”,一个是集成在车里的“接收线圈”,两个线圈感应之后即可实现对车辆的充电。这与智能手机的无线充电装置原理相似,通过电磁场的共振现象传输能量,但相较于电磁感应,磁共振的无线充电技术可以实现更高的充电效率和更远的传输距离。
磁共振无线充电更适合用于电动汽车上。
理想情况下,这两个装置布局起来并不会很难,小通猜测的是面向个人用户销售无线充电套装,接入家用电路,固定好装置即可,不需要做额外的改造,这一点类似于家用的交流充电桩。电动汽车停放在家里的时间会比较长,一般不追求高效的快充,是交流充电桩和无线充电装置比较理想的场景。
车用无线充听起来很小众陌生,其实这条赛道上,特斯拉并不是唯一一个“吃螃蟹”的车企。
WiTricity曾与宝马合作打造了全球首款出厂配备无线充电的BMW 530e iPerformance,车辆可以在预埋磁共振线圈的车位上自动充电,并且是一款插电混合动力的车型,目前已在多个国家上市销售。

国内的造车新势力智己汽车也有搭载无线充电技术的车型L7,充电功率可以达到11kW。

高通的Halo无线充电技术首次在2012年的CES展会亮相,同样利用磁共振原理实现车辆的非接触式充电提供3.3-20kW的输出功率,整机效率大于90%。这项技术的第二代曾在2015年的Formula E电动方程式比赛中应用,采用了7.2kW的无线充电功率,汽车能够在一小时内完成充电。并且,高通Halo系统不仅限于静态充电,还包括半静态和动态充电技术,在车辆高速行驶也能充电。
国产供应商方面,有感科技实现了单相7kW和三项11kW的大功率无线充电产品,充电效率、偏移容忍度技术也有所突破;专注于中大功率无线充电产品开发的亿创智联也实现了11kW电动汽车无线充电产品全球首发量产。除此之外,Momentum Dynamics、HEVO POWER、Evatran、Robert Bosch GmbH等供应商,都在车用无线充领域进行了研发和推广。

看似还不太起眼的新赛道,其实早就有许多玩家扎堆布局,只不过对于新能源汽车来说,无论是换电还是无线充电,从覆盖上看还都是比较新的补能形式,而且还需要车企与充电服务供应商之间相互合作推广,要等到车载无线充迎来“光明”,时间还是最好的解决办法。
汽车无线充电技术在新能源汽车崛起之前就已经有厂商着手研发,从技术角度来看,各家的解决方案都趋于成熟,并且都在努力推向商用。
同智能手机一样,非接触式的充电形式,在日常生活中更加无感,相比插线这个步骤,无线充只需要将手机放到对应的无线充电板上即可充电,充分利用碎片时间补能,也能够从行为上去“忽略”充电。新能源汽车也一样,只要支持无线充电,停到对应的车位,就可以马上充电,比下车插拔充电枪来得更优雅,关键是能够让充电变得“无痛”。

不过,“无痛补能”还不能成为车用无线充电铺开的理由,电动汽车在外充电,用户首先需要的是充电效率。
放眼一看,各家解决方案虽然都以磁共振为主,公布出来的充电效率标定也都不错,但充电功率普遍较低。常见的单相220V交流充电功率为7kW,三相380V电源普遍能做到11kW,最高的欧洲标准三相交流电功率也只有48kW,和直流快充比就是“小巫见大巫”。
简单来说,虽然车用无线方便布局,但车用无线充电的功率与现阶段常见的交流桩几乎一致,无线充电只是解决了“插枪”的问题,并没有解决电动汽车充电的效率问题。

为什么特斯拉将无线充电技术瞄准家庭场景?小通认为大多数家用充电设施比较固定,接的是220V的单相或380V三相交流电,主要用于给电动车主停在车库里长时间充电。考虑到无线充电装置容易安装,而且功率与接触式的交流充电媲美,形成平替关系并不困难。
而非接触式的充电似乎也能够避免某些“暴力拔枪”的问题。
公共充电站不同,电费计算标准和家用不一样,而且公共停车区不是提供电动汽车用户久留的位置,时间长了还会加收各种停车费和超时占用费,以无线充电目前的效率划不来。
而且手机无线充电会遇到的发热、充电慢等问题,大概也会在汽车身上出现。
考虑到更多现实因素,比如停车位置与充电线圈偏移较大,导致充电效率降低,非接触式充电带来的能量损耗该由哪一方承担之类的,可能最终都会成为车用无线充电商业化的阻力,毕竟很少有车企能够像蔚来一样亲力亲为,投入大量的时间和资本去建设换电、充电两张补能网络,无线充电的落地必然是车企、服务商、技术供应商三方合作的结果。
特斯拉的眼光相当独到,准确判断到了车用无线充电技术的局限和使用场景——家庭充电就是当下这项技术最理想最“无痛”的落地。
也就是说,一旦达到可以商用的标准,特斯拉可能会在网上通过选装和销售相关配件的形式推出无线充电的装置,新车选配大概也会增加无线充电的选装。
现阶段无线充电只能应用于可以长期停车的场景,充电效率也没有出现突破性进展,但小通认为选装和家用不一定是汽车无线充电的结局。

众所周知,“懒惰”可以促进技术进步,当人们不想下车插充电枪时,莲花汽车拿出了自动化的机械臂充电枪。2023年6月18日,在理想汽车首届家庭科技日发布会上,还公布了一项自动充电机器人的技术。
自动充电机器人技术优势在于全自动,可以靠视觉识别并与汽车联动,自动插枪充电和自动结算,车主全程无需下车。
这种无人化充电技术很丰满,但建设成本比传统充电枪更高,普及的难度自然更大。不需要车主下车就能充电的技术,还是无线充电来得更实际。像是配合无线充电的无限充电公路,至今也就做了几公里,普及全球还是太异想天开。

无线充电的“无痛”能够满足许多根本不想下车充电的群体,但科技也需要考虑无线充电的效率问题,只有解决了充电功率,无线充才会成为电动汽车主流的补能方式。
一切为时尚早,新能源汽车还有许多未被发掘的秘密,兴许有车企认可特斯拉的方向,一起跟进,把无线充电的“生态”做大。
