IT之家 12 月 25 日消息,汽车媒体 CarBuzz 昨日(12 月 24 日)发布博文,报道称兰博基尼近期曝光了一项颠覆性的空气动力学专利,计划利用“磁性减阻系统”取代传统的液压装置,试图通过复杂的机械结构优化超跑的空气动力学表现。
与法拉利、迈凯伦或 F1 赛车上常见的简单翻转式尾翼不同,兰博基尼的这项新专利引入了磁力驱动技术。

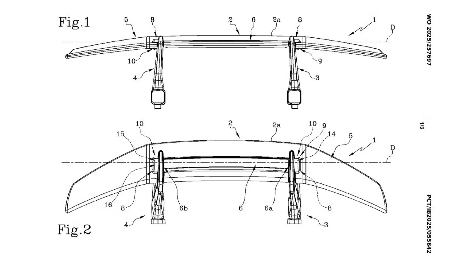
该系统旨在解决固定式尾翼在提供过弯下压力与限制直线极速之间的矛盾,通过一种“内嵌式”的活动结构,在不牺牲操控稳定性的前提下释放车辆的最高速度。
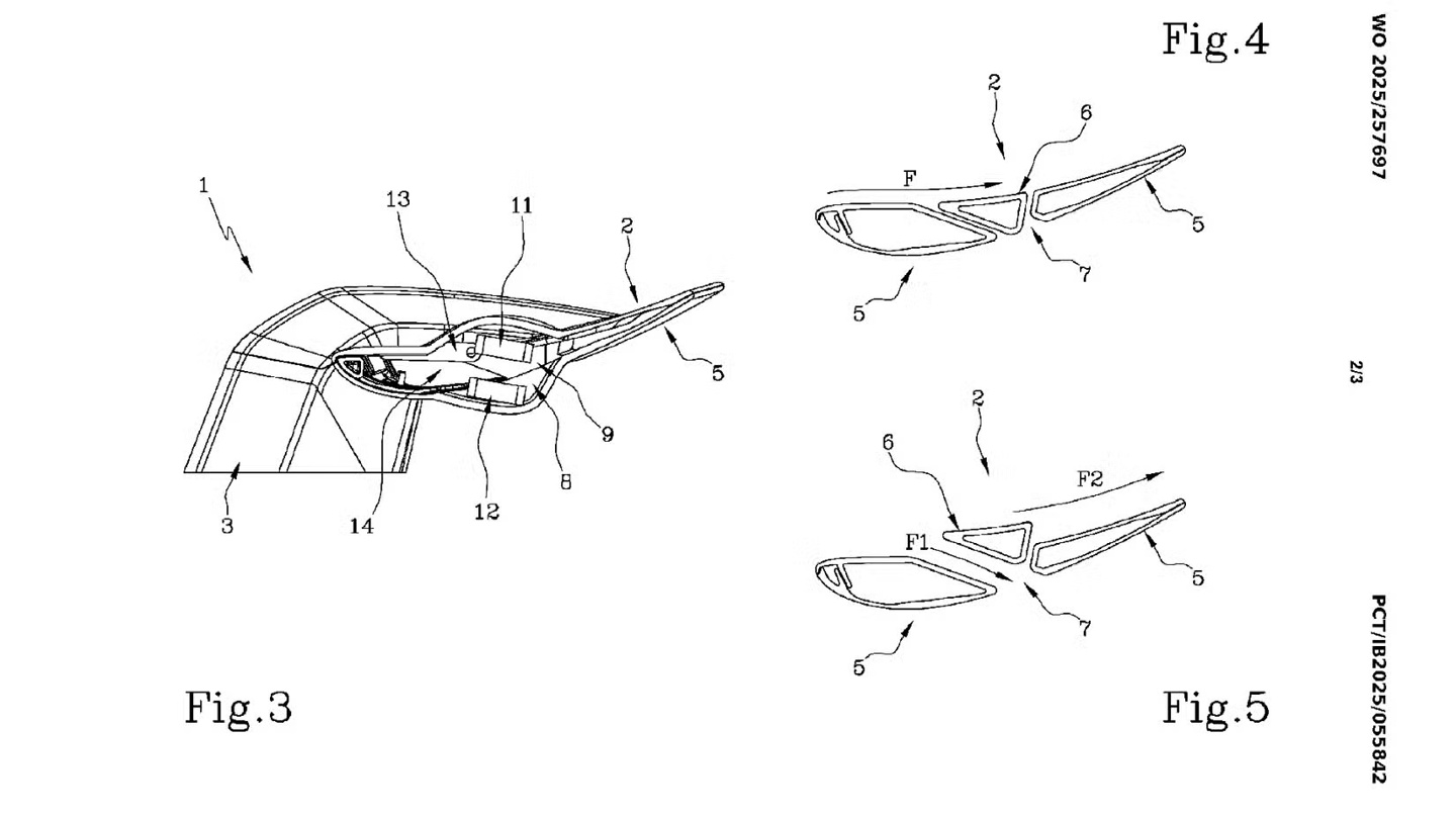
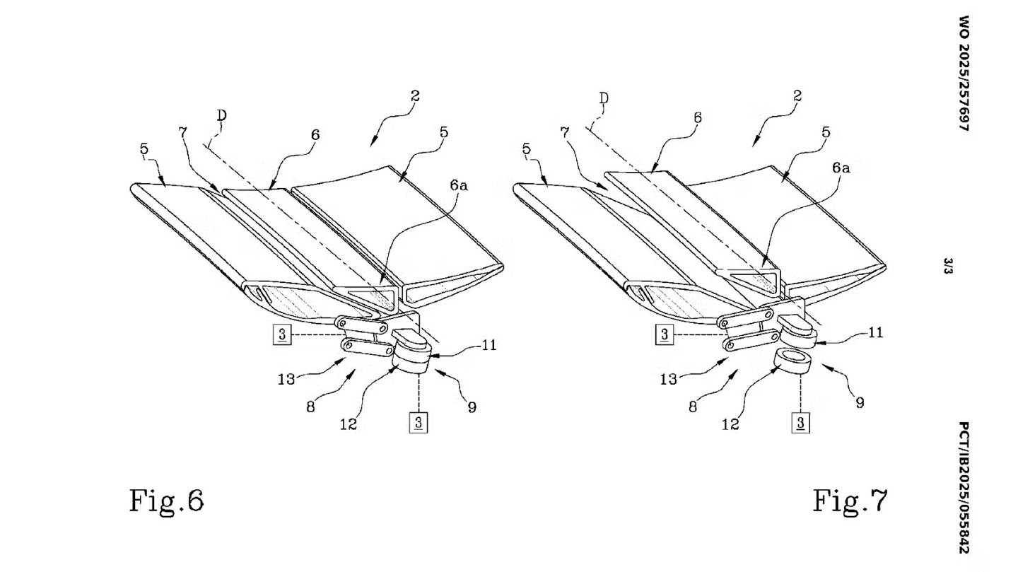
IT之家援引博文介绍,该专利的核心在于独特的双元件设计:一个外观常规的主尾翼,以及一个嵌入主翼槽口内的可移动副翼。在车辆需要极速行驶时,系统并非改变整个尾翼的角度,而是移动内部的副翼。

这一动作会在主翼表面打开一个缺口,引导气流直接穿过尾翼而非流经其表面。气流的“短路”破坏了原本产生下压力的高低压区,从而有效降低空气阻力,提升车辆直线加速能力。
兰博基尼此次创新的最大亮点在于驱动方式的变革。该系统利用主翼上的电磁铁与副翼上的永磁体相互作用来实现开合,彻底摒弃了传统 DRS 系统中沉重的电机或线性致动器。

这一设计不仅大幅降低了系统复杂度和重量,还因其紧凑的体积,让工程师能够安装比以往更大的尾翼和翼端板,从而在未激活 DRS 时获得更极致的过弯抓地力。

兰博基尼在专利中暗示,该技术可支持在尾翼上设置多个独立移动的区段,这意味着驾驶者或车载电脑可以针对特定路况进行微调,例如在高速过弯(如斯帕赛道的 Eau Rouge 弯)时仅打开部分风道,而在大直道上则完全开启以追求极速。
尽管专利申请并不等同于量产确认,但这无疑揭示了兰博基尼在未来旗舰车型上追求极致性能的技术路径。

