IT之家 4 月 10 日消息,据外媒 motor1 今日(4 月 10 日)报道,保时捷申请了一项用于隐藏赛车条纹的新专利。该技术采用被称为电子纸或顺磁涂层的薄膜材料,可应用于车身外部,并在施加电压时改变颜色。
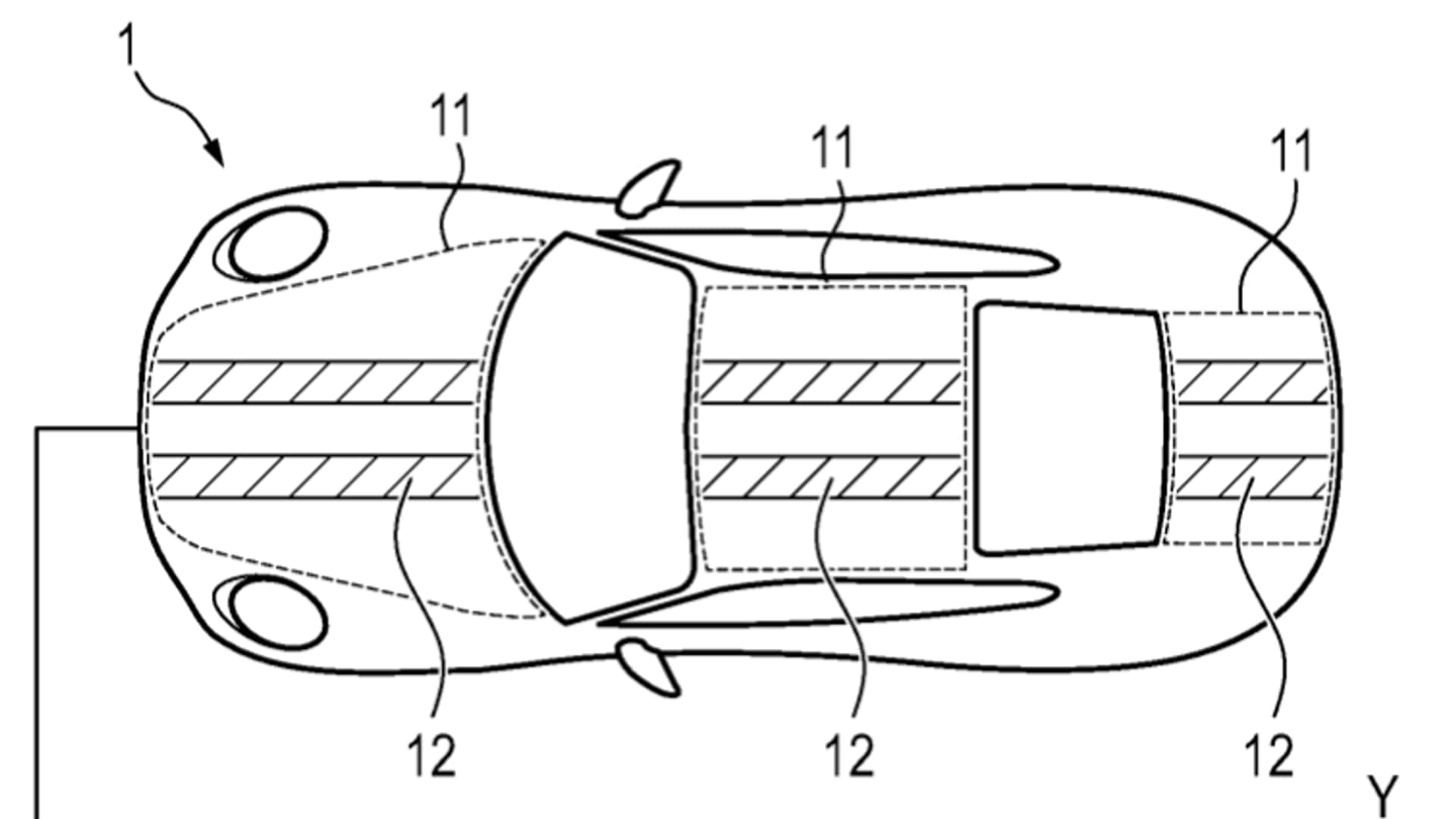
专利文件展示了多种应用方式,其中最引人关注的是可隐藏的赛车拉花。根据德国专利描述,专利中的拉花可以根据车辆驾驶模式改变颜色,例如节能模式显示为绿色、运动模式显示为红色,或通过按键完全隐藏。
示意图还显示,这种薄膜可应用于后轮后方以及后扩散器区域。此外,专利提到,还可在纯电车型上利用该技术直接在车身外部显示电量状态。




IT之家从报道中获悉,这一技术颇具新意,不过并非全新概念。汽车制造商早已使用可随电流变化而改变透光度的电致变色玻璃,而此次披露的技术,则是在此基础上的进一步延伸。
