极越是由百度和吉利控股集团联合打造的高端智能汽车机器人品牌。极越07是极越旗下第一款轿车,定位为AI智能纯电轿车。

图1 极越07外观
优异的能源管理
采用800V高压平台+宁德时代麒麟电池,5C闪充,10%-80%充电只需十分钟。真正做到一秒充一公里,刷新了全球量产车充电速度记录。

图2 极越充电
搭载百度阿波罗高阶智驾
作为首款AI时代智驾轿车,极越07首搭百度最前沿的ASD(Apollo Self Driving)阿波罗高阶智驾,以“纯视觉+端到端大模型”开启了智能驾驶发展的新阶段。
相较于传统的“激光雷达+高精地图+规则算法”智驾方案,极越ASD采用了“纯视觉+端到端大模型”的全新路径。这一方案不仅简化了硬件结构,降低了成本,更凭借AI大模型的自我学习能力,实现了智驾水平的持续提升。百度Apollo在AI和自动驾驶领域的深厚积累,为极越提供了强大的技术支持。超过10年的研发经验、超过1500亿的持续投入,以及Apollo L4级自动驾驶超过1亿公里的测试里程,共同铸就了极越ASD在智驾领域的领先地位。

图3 ADS传感器
智能交互
极越07采用当下流行的智能表面的交互方式。方向盘采用了滚轮+按键的极简方向盘按键的风格。按键包括:左转向,右转向,雨刷,灯光等开关。

图4 极越07方向盘
艾为智能表面解决方案带来的好处:
科技感、未来感
可以一体化设计,体现座舱按键的科技感、未来感
防水防尘
不开孔的设计可以起到防水、防尘的功能
避免误触
触控叠加压感按键的设计,可以把误触发降为0
逼真微动开关的触感
触觉反馈的效果可以还原传统微动开关的触感
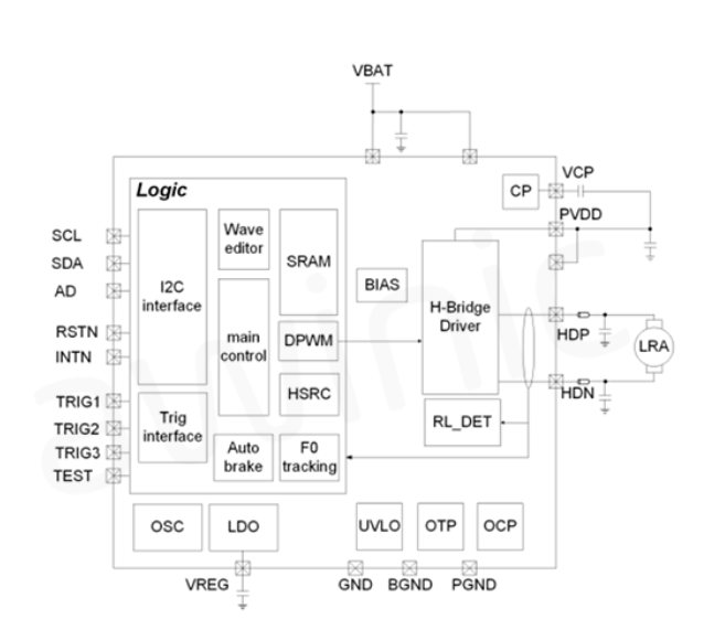
极越07的触觉反馈采用艾为的解决方案:AW86205QNR-Q1

图5 AW86205QNR-Q1原理图

图6 AW86205QNR-Q1功能框图
AW86205QNR-Q1特性:
5V输出电压
1M IIC接口
内建12KB SRAM
Cont模式&RTP模式&RAM 模式
触发模式(Trig mode)& 一线模式(Onewire mode)
自动切换到待机状态
F0跟踪与检测
Cont模式支持自动刹车、F0校准
过压保护(OVP)、过流保护(OCP)、过温保护(OTP)、欠压锁定(ULVO)、短路保护(SCP)
负载短路或开路检测(诊断)
AEC-Q100 认证
可湿润侧翼QFN 封装
关于艾为智能表面方案介绍,参考文章:
https://mp.weixin.qq.com/s/XQY2lmRjQEzFsmhDwfzO4g
未来座舱,全新体验
新车的内饰设计极具未来科技感,映入眼帘的是35.6英寸的一体式大屏,6K分辨率,且中间无隔断,显示效果统一。新车可选半幅方向盘,方向盘上可以直接操控转向灯,并且支持自动打转向,这在现在看来算是极为大胆的设计了。氛围感方面使用了188颗独立LED灯珠组成的256色流水氛围灯,夜间开启灯效后犹如置身于未来科技座舱之中。同时车内语音助手SIMO通过AI技术加持,能够实现更加拟人化的对话,使用场景更广泛,另外,极越07支持车外语音控车,可以实现车外打开车门,打开后备箱,自动泊车等功能。
结语
智能座舱的发展,给消费者带来更智能、更轻松的驾驶体验,提供更人性化的人机交互操作。智能座舱车载娱乐系统升级,人机交互体验升级的过程中,艾为一直在为智能汽车的体验升级赋能。
艾为的智能表面方案已经在奇瑞捷途和国内某头部新能源车企的高端MPV量产。艾为车载音频解决方案,车载氛围灯解决方案也已在多家Tier1及OEM品牌厂商取得量产或定点。智能座舱体验升级,欢迎咨询!
