1.零跑汽车朱江明:明年有望月均销售4万辆
2.上周中国新势力销量榜公布:理想汽车再次位列第一,零跑第二
3.特锐德获宝马/奔驰合资公司5.28亿元大单,将承建并运营充电站
4.英搏尔获亿航智能项目定点,将供应无人驾驶用动力电机及控制器
5.长安汽车:未来高阶智驾汽车将全系标配500TOPS以上算力
6.AI汽车搭载艾为智能表面方案上市
1.零跑汽车朱江明:明年有望月均销售4万辆

11月11日,在零跑汽车第三季度财报电话会上,零跑汽车创始人、董事长、CEO 朱江明表示,预计今年第四季度零跑的销量仍将环比大幅提升;明年有望达到每月平均4万辆的销量水平,明年全年销量目标将达到50万辆甚至更高,毛利率将超10%。
今年10月,零跑汽车交付新车38177辆,同比增长109.7%,已连续创造月交付新高。10月份,零跑汽车订单量同样刷新记录,单月订单量超过42000辆,C10、C11、C16三车型订单全部过万。
今年前三季度,零跑汽车单季度销量创新高,第三季度交付新车86165辆,环比增长61.7%,同比增长94.4%,前三季度累计交付172,861辆,同比增长94.6%。
目前,零跑国际已在13个欧洲国家拥有超过200家经销商,并计划到2025年底在欧洲设立500个经销商。此外,零跑计划从2024年第四季度起,将业务扩展到中东和非洲、亚太、南美。
2.上周中国新势力销量榜公布:理想汽车再次位列第一,零跑第二

11月12日,理想汽车再次披露2024年第45周(11.4-11.10)中国市场新势力品牌销量榜单。
11月4日至11月10日的中国市场新势力品牌销量中,理想、零跑、问界、深蓝、极氪、小米、小鹏、蔚来、极狐、腾势位列前十,销量分别为1.17万辆、0.82万辆、0.65万辆、0.58万辆、0.57万辆、0.55万辆、0.36万辆、0.3万辆、0.22万辆、0.21万辆。据悉,这是理想汽车第29周连续获中国市场新势力品牌销量第一。

上周的中国市场豪华品牌销量榜单中,位列前十的品牌为特斯拉、奔驰、理想、奥迪、宝马、问界、极氪、蔚来、雷克萨斯、凯迪拉克,销量分别为1.73万辆、1.18万辆、1.17万辆、1.11万辆、1万辆、0.65万辆、0.57万辆、0.3万辆、0.29万辆、0.23万辆。
上周的中国市场新能源品牌销量榜单中,位列前十的品牌为比亚迪、五菱、特斯拉、理想、零跑、银河、吉利、问界、埃安、深蓝,销量分别为8.59万辆、2.16万辆、1.73万辆、1.17万辆、0.82万辆、0.72万辆、0.71万辆、0.65万辆、0.61万辆、0.58万辆,比亚迪销量遥遥领先。
3.特锐德获宝马/奔驰合资公司5.28亿元大单,将承建并运营充电站

11月11日,特锐德发布公告称,近日公司控股子公司特来电新能源股份有限公司(以下简称“特来电”)与北京逸安启新能源科技有限公司(以下简称“逸安启”)签署《充电站销售与服务合同》,合同总金额约52,787.64万元(不含税)。
据介绍,逸安启是华晨宝马汽车有限公司与梅赛德斯—奔驰(中国)投资有限公司成立的合资公司,注册资本:10000万元,主营业务为建设并运营宝马和奔驰的品牌充电站。
本次交易的标的系由特来电按照宝马要求建设并运营的充电站,包括但不限于充电桩、充电枪、电缆、液晶屏、充电功率柜、充电模块、光伏与锂电池储能系统、低压配电柜、高压箱式变压器、车档及地锁、防撞杆、监控、消防等各项配套设施及其对应供应商提供的配套维修、保养服务等服务权益以及充电站所在场地的承租权。
交易价款含场站设备、建设费用及场地租金费用,合计约52,787.64万元,交易对价中的场站设备及建设费用5年内结算完毕,场地租金费用按照结算周期内实际租赁时间结算。
4.英搏尔获亿航智能项目定点,将供应无人驾驶用动力电机及控制器

11月11日,英搏尔发布公告称,公司于今日收到亿航智能设备(广州)有限公司下发的产品技术开发通知函,公司将为该客户无人驾驶eVTOL(电动垂直起降航空器)产品开发提供动力电机及控制器产品。
具体型号的开发事项、供应时间、价格以及数量均以双方签订的供应协议或销售订单为准。英搏尔提示称,由于项目样件开发后,尚需通过客户验证通过,并签订正式合同后方可批量生产,项目实施周期较长,正式订单或销售合同的签订存在不确定性。
英搏尔同时表示,此次项目定点标志着客户对于公司持续创新能力、研发实力、产品质量及生产能力的认可,提高了公司在eVTOL市场的品牌影响力,也将对公司进一步拓展eVTOL市场产生积极影响。
5.长安汽车:未来高阶智驾汽车将全系标配500TOPS以上算力

近日,长安汽车在接受机构调研时表示,在行业里,长安汽车首个将智能驾驶和大语言模型进行了端到端融合。长安未来的高阶智能驾驶汽车将全系标配500TOPS以上的算力,在2027年成为行业领导者。
过去的一年,长安汽车做了很多努力,推进长安智驾的进化:在重庆最魔幻的8D立交桥超过一万次道路测试;吸引了互联网、AI、ICT行业的顶尖人才,构建了超过千人的工程师团队;模型在云端进行了超过百次的训练迭代;智驾系统成功地完成了中汽研的SuperAI挑战赛,获得七项全能证书,成为四部委第一批L3准入试点的车企;更重要的是,在启源E07上实现了自研高阶智驾的首次量产落地。
SDA天枢架构、天枢大模型两大关键能力,铸就长安智驾系统基石。SDA天枢架构能够融合来自不同领域的信息,并传递给脑子。作为长安打造的国内首个面向未来具身智能的类人架构,SDA天枢架构是全球唯二采用了全新的中央环网架构,目前世界上最先进的智能汽车系统架构之一。天枢架构全面整合了智驾、智舱、车身、动力、底盘五大智能汽车领域的海量数据,具有千兆级的环网带宽,能够让系统做到“眼疾手快”,确保车辆在复杂路况下能够实时响应。天枢架构具备小于0.001毫秒的时间同步精度。这相当于人类神经传导速度的五千倍,确保了系统内部各个模块之间的“手眼协调”。天枢架构还具备冗余的故障保护切换能力,切换时间小于五十毫秒,是人类极限反应速度的两倍。这个超短的“反射弧”让天枢架构具备了极强的稳定性与可靠性。
天枢大模型被喻为拥有高度智能的“大脑”与“小脑”结合体,能够模拟人类的五感输入机制,构建从感知到思考再到行动的全链路、端到端模型。此外,还具备自我学习与进化的能力,能够在与环境的持续交互中不断优化自身,实现智能水平的持续提升。天枢大模型采用一体化模型架构,将特征网络、感知网络、规划控制网络、语言网络以及安全对齐引擎完美融合,充分展现了智能驾驶端到端技术与人工智能大模型的深厚底蕴。天枢大模型创新性地引入蕴含丰富世界知识的多模态大语言模型,使得智能驾驶系统能够模拟人类的交互方式,并具备持续学习和进化的能力。通过在众多真实与仿真驾驶场景中的不断实践、反馈与学习。天枢大模型致力于为用户提供一种不断进阶、日益完善的智能驾驶体验。
6.AI汽车搭载艾为智能表面方案上市
极越是由百度和吉利控股集团联合打造的高端智能汽车机器人品牌。极越07是极越旗下第一款轿车,定位为AI智能纯电轿车。

图1 极越07外观
优异的能源管理
采用800V高压平台+宁德时代麒麟电池,5C闪充,10%-80%充电只需十分钟。真正做到一秒充一公里,刷新了全球量产车充电速度记录。

图2 极越充电
搭载百度阿波罗高阶智驾
作为首款AI时代智驾轿车,极越07首搭百度最前沿的ASD(Apollo Self Driving)阿波罗高阶智驾,以“纯视觉+端到端大模型”开启了智能驾驶发展的新阶段。
相较于传统的“激光雷达+高精地图+规则算法”智驾方案,极越ASD采用了“纯视觉+端到端大模型”的全新路径。这一方案不仅简化了硬件结构,降低了成本,更凭借AI大模型的自我学习能力,实现了智驾水平的持续提升。百度Apollo在AI和自动驾驶领域的深厚积累,为极越提供了强大的技术支持。超过10年的研发经验、超过1500亿的持续投入,以及Apollo L4级自动驾驶超过1亿公里的测试里程,共同铸就了极越ASD在智驾领域的领先地位。

图3 ADS传感器
智能交互
极越07采用当下流行的智能表面的交互方式。方向盘采用了滚轮+按键的极简方向盘按键的风格。按键包括:左转向,右转向,雨刷,灯光等开关。

图4 极越07方向盘
艾为智能表面解决方案带来的好处:
科技感、未来感
可以一体化设计,体现座舱按键的科技感、未来感
防水防尘
不开孔的设计可以起到防水、防尘的功能
避免误触
触控叠加压感按键的设计,可以把误触发降为0
逼真微动开关的触感
触觉反馈的效果可以还原传统微动开关的触感
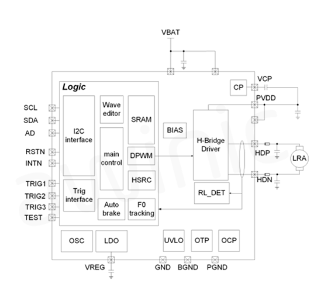
极越07的触觉反馈采用艾为的解决方案:AW86205QNR-Q1

图5 AW86205QNR-Q1原理图

图6 AW86205QNR-Q1功能框图
AW86205QNR-Q1特性:
5V输出电压
1M IIC接口
内建12KB SRAM
Cont模式&RTP模式&RAM 模式
触发模式(Trig mode)& 一线模式(Onewire mode)
自动切换到待机状态
F0跟踪与检测
Cont模式支持自动刹车、F0校准
过压保护(OVP)、过流保护(OCP)、过温保护(OTP)、欠压锁定(ULVO)、短路保护(SCP)
负载短路或开路检测(诊断)
AEC-Q100 认证
可湿润侧翼QFN 封装
关于艾为智能表面方案介绍,参考文章:
https://mp.weixin.qq.com/s/XQY2lmRjQEzFsmhDwfzO4g
未来座舱,全新体验
新车的内饰设计极具未来科技感,映入眼帘的是35.6英寸的一体式大屏,6K分辨率,且中间无隔断,显示效果统一。新车可选半幅方向盘,方向盘上可以直接操控转向灯,并且支持自动打转向,这在现在看来算是极为大胆的设计了。氛围感方面使用了188颗独立LED灯珠组成的256色流水氛围灯,夜间开启灯效后犹如置身于未来科技座舱之中。同时车内语音助手SIMO通过AI技术加持,能够实现更加拟人化的对话,使用场景更广泛,另外,极越07支持车外语音控车,可以实现车外打开车门,打开后备箱,自动泊车等功能。
结语
智能座舱的发展,给消费者带来更智能、更轻松的驾驶体验,提供更人性化的人机交互操作。智能座舱车载娱乐系统升级,人机交互体验升级的过程中,艾为一直在为智能汽车的体验升级赋能。
艾为的智能表面方案已经在奇瑞捷途和国内某头部新能源车企的高端MPV量产。艾为车载音频解决方案,车载氛围灯解决方案也已在多家Tier1及OEM品牌厂商取得量产或定点。智能座舱体验升级,欢迎咨询!(艾为之家)
