两个身价超千亿的巨头,联手具身智能合作了。
如今市值已跻身车企第二的赛力斯,在具身智能赛道潜心布局已久,刚刚以一则公告,正式官宣了其具身智能的最新动向。
不过这次携手的队友,不是“好大哥”华为,而是另一家大家熟知的科技巨头——字节跳动。
看起来,这似乎是赛力斯首次明确对外官宣具身智能进展,但深挖之下,实际早在两年前,赛力斯就在为打造机器人做准备了。
赛力斯最新发布公告,官宣旗下的子公司重庆凤凰技术有限公司(以下简称“重庆凤凰”),携手北京火山引擎科技有限公司,签订了一份关于共同研发智能机器人技术的初步合作协议。

重庆凤凰,是赛力斯的全资子公司,经营范围包括智能机器人的研发、制造、销售等等。
火山引擎,大家可能比较熟悉了,2020年成立的科技公司,专注做AI、云计算和数据服务,母公司是最新估值约超3300亿美元(约2.35万亿元)的字节跳动。
据公告介绍,双方打算通过“技术研发+场景验证”的模式,围绕“多模态云边协同的智能机器人决策、控制与人机增强技术”展开合作。
简单理解就是:
字节提供AI技术支持:包括AI算法、算力、多模态模型等;
赛力斯提供产业场景和落地经验:包括提供真实的产业需求、测试环境,并负责将技术最终落地到汽车、机器人产品中。

不过呢,这次签署的还只是一个框架性协议,等同于意向书,目前还没有披露更多细节。赛力斯也明确了,协议不会对2025年财务业绩造成什么重大影响。
至于怎么具体合作、做什么项目,涉及金额几何,就要看后续签订更具体的合同内容了。

另外,公告还提到了,赛力斯官宣入局具身智能的缘由:
其一,是响应国家“人工智能+”政策的号召,推动AI与实体经济深度融合。
其二,是从赛力斯自身角度出发,可以提前布局前沿技术,为未来的智能汽车、智能制造领域做准备,也符合公司的长期发展战略。
事实上,赛力斯瞄准具身智能已久,早在两年前就开始暗藏珠玑,埋好了伏笔。
捋捋时间线,赛力斯从2023年底开始,就被外界感知到了入局具身智能的动作。
这一过程,可以大致分为三条线:
第一条线是成立专门的公司、注册品牌,为具身智能业务搭建实体架构。
早在2023年12月,赛力斯就连同重庆市财政局,共同出资成立了重庆赛力斯凤凰智创科技,专门用于承接机器人业务。
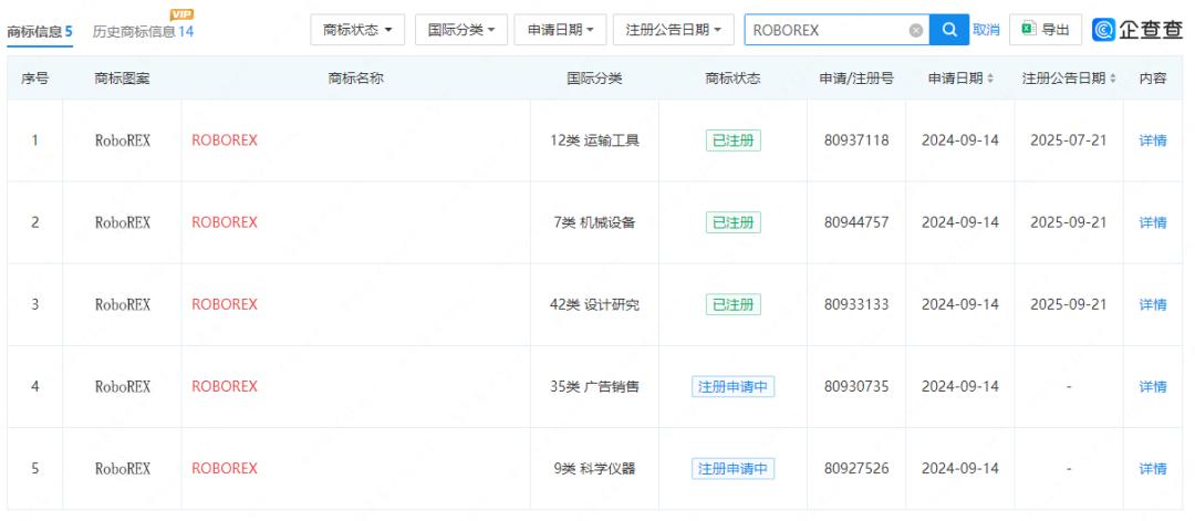
2024年9月,赛力斯申请了“ROBOREX”商标,不久前已获国家知识产权局核准注册。当时外界普遍推测,这很可能就是赛力斯机器人产品的潜在品牌。

还有本次签署协议的重庆凤凰,也是赛力斯在今年3月17日创立的新公司。
而且重庆凤凰成立不过半月,还携手北京航空航天大学,合资成立了北京赛航具身智能技术有限公司,专注于智能机器人的研发与销售,赛力斯通过重庆凤凰持股70%。

第二条线,体现在赛力斯正在为具身智能业务“招兵买马”。
从2024年下半年开始,赛力斯的招聘信息中,就已多次出现具身智能相关的需求,覆盖具身智能控制工程师、嵌入式软件开发等岗位。
比如今年的春季校招,赛力斯首次设立了“具身智能大模型工程师”岗位;秋季校招还有“具身智能大模型算法工程师”等岗位,现在还能在其招聘官网中看到。

第三条线,实际和第一条线相辅相成,就是与外界力量进行战略合作。
像是和前面提到的重庆市财政局、北航,以及本次合作的字节等等。

梳理下来,其实在具身智能这条路上,赛力斯排兵布阵已久,各方面都做了铺垫,这次明确宣布合作,更像是时机恰到好处的进场宣言。
不仅仅是赛力斯,如今国内众多主流车企,都在追赶具身智能这一热潮。
“参赛”方式无非两种,要么自主研发——已有产品亮相的包括广汽的GoSide、GoMove、GoMate人形机器人“家族”,小鹏的PX5和Iron,小米的CyberOne和铁蛋(CyberDog)等等。

广汽GoMate人形机器人
理想、蔚来、东风等等也都明确表态,正在具身智能领域加快动作。
要么就是砸钱投资,寻找合作机会。
像是比亚迪、上汽投资智元机器人,长安携联手海尔集团……
还有奇瑞携手AI公司Aimoga,打造了墨甲人形机器人墨茵,上半年已经完成首批交付,有消息称,这个月就会面向经销商和个人售卖了。

奇瑞人形机器人墨茵
车企们集体跨界入局,当然不单纯是因为这个赛道火热,还因为这些主机厂有得天独厚的优势。
汽车,尤其是智能汽车,本身就类似一个搭载了大量传感器和强大计算平台的“机器人”。车企在智能辅助驾驶、环境感知、智能决策等领域积累的技术,与人形机器人很大程度上共通。
并且车圈当前竞争异常激烈,车企迫切需要寻找第二增长曲线。
被视为下一个万亿级赛道的人形机器人,自然很适合成为巨头们争夺的入口,且想象空间无限。
就拿赛力斯来说——当初赛力斯(彼时还是小康股份)在危急边缘挣扎求生,与华为深度绑定后才脱离了至暗时刻,5年间市值从200亿元左右,暴涨到今天超2700亿元,几乎翻了12倍还多。

在国内车企中,赛力斯已位列市值第二,仅次于比亚迪。
而现在,赛力斯开始了具身智能的新征程,不能再以单纯车企造车来看待了。
重估赛力斯,是时候了……吗?
