天眼查显示,杰华特微电子股份有限公司“多管芯封装结构及其芯片”专利公布,申请公布日为2025年2月14日,申请公布号为CN119447114A。

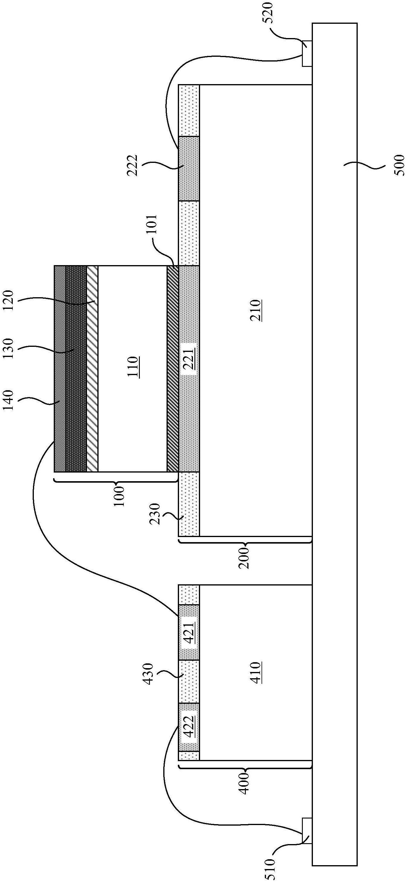
本公开提供了一种多管芯封装结构及其芯片,多管芯封装结构包括:第一管芯,至少包括第二导电层;第二管芯;以及隔离结构,位于第一管芯上且与第二管芯电连接,其中,隔离结构包括:绝缘介质层;位于绝缘介质层上方的第一导电层;以及位于绝缘介质层下方的粘接层,隔离结构中的第一导电层与第一管芯中的第二导电层中的至少之一形成隔离电感、隔离电容、隔离变压器中的至少之一。通过在第一管芯上设置与第二管芯电连接的隔离结构,隔离结构中的第一导电层与第一管芯中的第二导电层之间通过隔离结构中的绝缘介质层隔开,不仅满足了多管芯之间的连接和隔离需求,还提升了各个管芯的隔离耐压性能。
