2 月 1 日消息,科技媒体 Apple World 今天(2 月 1 日)发布博文,报道称苹果公司获批一项“虚拟纸”的专利,在 Vision Pro 头显上可以让纸张呈现出 3D 效果。
IT之家援引专利描述,苹果公司指出当前计算机生成的现实(CGR)体验中,2D 虚拟内容和立体(或 3D)虚拟内容,通常按照表征用户 CGR 环境的一组世界坐标来显示,因此和用户之间的交互可能性范围,仅限于基于表征用户 CGR 环境的世界坐标集渲染和显示虚拟内容。
苹果公司在摘要中表示:
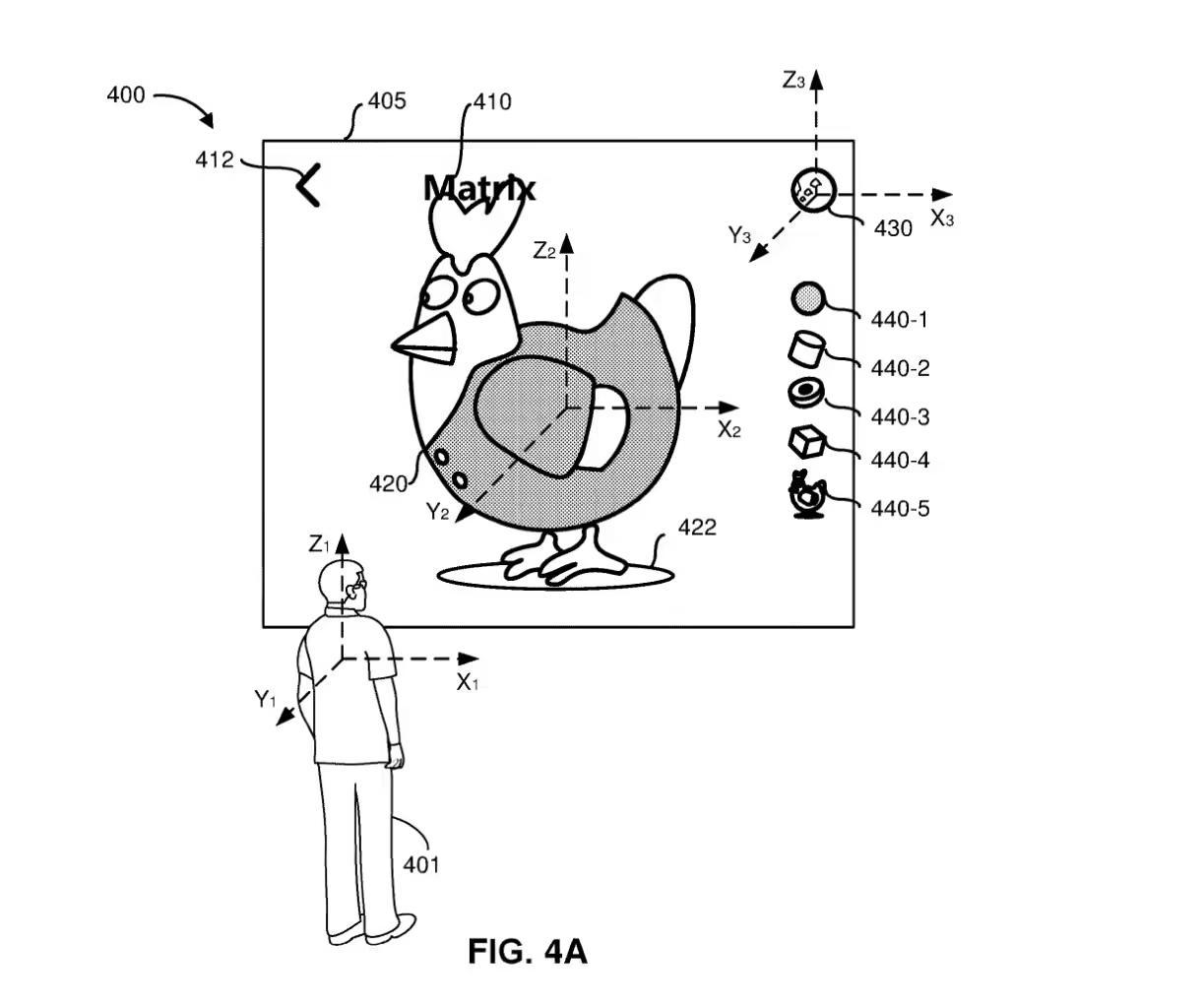
在一个实施例中,在一个设备上进行了一种将立体和符合虚拟内容混合到有界表面的方法,其中包括一个或多个处理器,非透明记忆以及一个或多个显示器。
该方法包括在本地用户计算机生成的现实(CGR)环境中显示有界表面,其中根据表征本机用户 CGR 环境的第一组世界坐标显示有界表面。
该方法进一步包括在有界表面的第一侧显示第一个立体虚拟对象,其中第一个立体镜面虚拟对象按照第二组世界坐标显示与第一组世界坐标不同的世界坐标,表征本地用户 CGR 环境。










