1、创维数字出售子公司部分股权及放弃同比例增资权关联交易完成,获转让价款 1.16 亿元
2、三星正式发布三折叠屏手机Galaxy Z TriFold,年内登陆中国大陆市场
3、汽车OLED普及率低于5%,LCD仍占据主导地位
4、京东方“柔性阵列基板和显示装置”专利获授权
1、创维数字出售子公司部分股权及放弃同比例增资权关联交易完成,获转让价款 1.16 亿元

12月2日,创维数字发布公告,披露公司出售子公司部分股权及放弃同比例增资权暨关联交易已全部完成,公司子公司已收到全部转让价款11,644万元人民币。
据悉,为集中资源发展核心业务、减少关联交易、规避同业竞争,创维数字此前审议通过了《关于出售子公司股权及放弃同比例增资权暨关联交易的议案》。
根据议案内容,公司旗下全资子公司深圳创维数字技术有限公司(简称“深圳创维数字”)以11,644万元人民币的价格,向创维集团有限公司(简称“创维集团”)转让其持有的深圳蜂驰电子科技有限公司(简称“蜂驰电子公司”)40%的股权,该股权对应注册资本400万元人民币。同时,创维集团以其持有深圳安时达技术服务有限公司(简称“安时达公司”)的100%股权(对应注册资本3,000万元人民币)评估作价10,420万元人民币,对蜂驰电子公司进行增资,对应注册资本357.95万元人民币。深圳创维数字放弃了对蜂驰电子公司本次11,462万元人民币增资的扩股优先认购权。
公告显示,本次交易完成后,深圳创维数字持有的蜂驰电子公司股权下降至32.40%,蜂驰电子公司不再纳入创维数字合并报表范围。
近日,蜂驰电子公司、安时达公司已在深圳市市场监督管理局完成股东信息、董事等变更登记的备案手续,并取得《登记通知书》;深圳创维数字也已收到创维集团支付的本次交易全部转让价款,标的公司股权交割完毕,标志着本次关联交易已全部完成。
2、三星正式发布三折叠屏手机Galaxy Z TriFold,年内登陆中国大陆市场

三星电子正式发布了其首款多折叠屏智能手机Galaxy Z TriFold,旨在巩固其在竞争日益激烈的智能手机市场中的地位。
Galaxy Z TriFold的发布标志着三星试图巩固其在该领域的领先地位。尽管中国竞争对手在该领域不断蚕食市场份额,但分析师表示,高昂的价格和生产挑战意味着折叠屏设备目前可能仍将是小众市场。
三星Galaxy Z TriFold的售价约为359万韩元(约合2440.17美元),展开后是一块253.1毫米(10英寸)的屏幕,由三块面板组成。它比三星最新的折叠屏手机Galaxy Z Fold 7尺寸大近25%。

这款在韩国生产的新机型将于12月12日在韩国国内上市,并于2025年内陆续登陆中国大陆、新加坡、中国台湾和阿联酋市场。预计最早将于2026年第一季度在美国上市。
Galaxy Z TriFold配备了三星旗舰机型中容量最大的电池,并支持超级快充,可在30分钟内将电量充至50%。
分析师表示,鉴于多折叠屏设计尚处于早期阶段,且规模化生产面临诸多挑战,三星的首款多折叠屏设备更可能是一款展示新技术的旗舰产品,而非主打销量的旗舰机型。
NH投资证券高级分析师柳永浩表示:“这款三星的三折叠屏手机是第一代产品,也是其三折叠设计首次实现商业化,因此很难想象三星会在现阶段大规模生产。”
他指出,虽然三星Galaxy Z Fold系列已经发展到第七代,产品成熟度和成本结构都已降低,但“三折叠屏手机在完整性和耐用性方面仍可能面临问题”,因此,三星首先评估市场反应至关重要。
尽管折叠屏智能手机市场的竞争预计将会加剧,例如中国厂商于2024年9月发布了业内首款三折叠屏手机,苹果公司预计2026年也将发布其首款折叠屏手机,但分析师表示,高昂的价格和量产限制可能会阻碍该行业的发展。
据Counterpoint Research预测,2025年折叠屏手机在智能手机市场中的占比预计将低于2%,到2027年将低于3%。
Counterpoint数据显示,三星在折叠屏手机市场的出货量份额在第三季度跃升至64%,高于上一季度的9%。该公司表示,这一急剧增长反映出该市场规模仍然较小,其份额会根据新产品发布时间的波动而逐季波动。
该机构预测,2025年折叠屏智能手机市场将增长14%,随后在2026年和2027年将以每年30%的速度增长,因为苹果公司似乎准备进入该领域。
3、汽车OLED普及率低于5%,LCD仍占据主导地位
OLED尚未在大尺寸汽车显示器市场站稳脚跟,严格的性能要求和成本压力使得LCD牢牢占据主导地位。行业预测表明,尽管经过多年发展,OLED的渗透率在短期内仍将受到限制,韩国制造商2025年的出货量也仅为中等水平。
三星显示(SDC)和LG显示(LGD)预计到2025年将合计出货150万块汽车大尺寸OLED面板。三星显示的出货量预计约为100万块,约为LG显示的两倍。
LG显示于2016年开始为部分奥迪车型供应OLED仪表盘,但近十年过去,OLED在汽车显示器领域的渗透率仍然低于5%,凸显了其在整个汽车面板市场中的微弱地位。
市场研究公司Sigmaintell预测,到2025年,LCD面板将占汽车面板出货量的95%。
汽车制造商仍然青睐LCD,因为OLED在可靠性、成本和严苛环境条件下的性能方面尚未展现出足够的竞争力。
汽车显示器必须具备高亮度和高耐用性。为了确保驾驶员即使在阳光直射下也能清晰地阅读屏幕,正面亮度通常需要达到900~1000尼特左右。在耐用性方面,汽车显示器必须始终可靠运行并能承受严苛的环境,标准要求其正常工作温度范围为-40°C至90°C。
OLED依赖于RGB(红、绿、蓝)有机发光材料,这给其耐用性带来了挑战,通常需要昂贵的串联结构来延长材料寿命。相比之下,LCD技术在大规模汽车应用中仍然更加可靠,因为在这些应用中,稳定性和寿命比峰值图像质量更为重要。
OLED面板的成本仍然是LCD面板的3~4倍,这极大地限制了其普及。然而,8.6代OLED晶圆厂的建成,尤其是在中国,有望扩大生产规模并逐步降低成本。
据报道,中国供应商正计划利用8.6代生产线来增强其汽车OLED产品,从而加剧与韩国厂商的竞争。
展望未来,韩国显示产业协会(KDIA)和市场研究公司Omdia的数据显示,汽车显示器市场将实现7.8%的复合年均增长率(CAGR),从2023年的93亿美元增长到2027年的126亿美元。尽管OLED在2022年仅占汽车面板市场的2.8%,但随着韩国和中国制造商将竞争扩展到这一新兴领域,预计到2027年,OLED这一份额将攀升至17.2%。
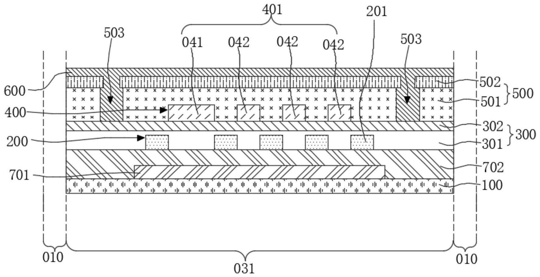
4、京东方“柔性阵列基板和显示装置”专利获授权
天眼查显示,京东方科技集团股份有限公司近日取得一项名为“柔性阵列基板和显示装置”的专利,授权公告号为CN113972217B,授权公告日为2025年10月17日,申请日为2020年7月22日。

本公开提供了一种柔性阵列基板和显示装置,属于显示技术领域。该柔性阵列基板包括至少一个可拉伸区域;可拉伸区域被多个贯穿孔划分出像素岛区和桥连区,桥连区包括源漏桥连区。柔性阵列基板在任意一个源漏桥连区包括依次层叠设置的衬底基板、多个第一源漏引线、第一绝缘材料层、多个第二源漏引线、第二绝缘材料层和封装层;第二源漏引线的数量少于第一源漏引线的数量;第二绝缘材料层设置有多个隔离槽,隔离槽在第二源漏金属层上的正投影隔离第二源漏引线和贯穿孔。该柔性阵列基板能够提高可拉伸区域的封装效果。
