IT之家 11 月 13 日消息,科技媒体 saminsider 昨日(11 月 12 日)发布博文,报道称三星最新获批了一项专利,介绍了一种新的触觉反馈机制,可以显著提升智能手机的触控体验。
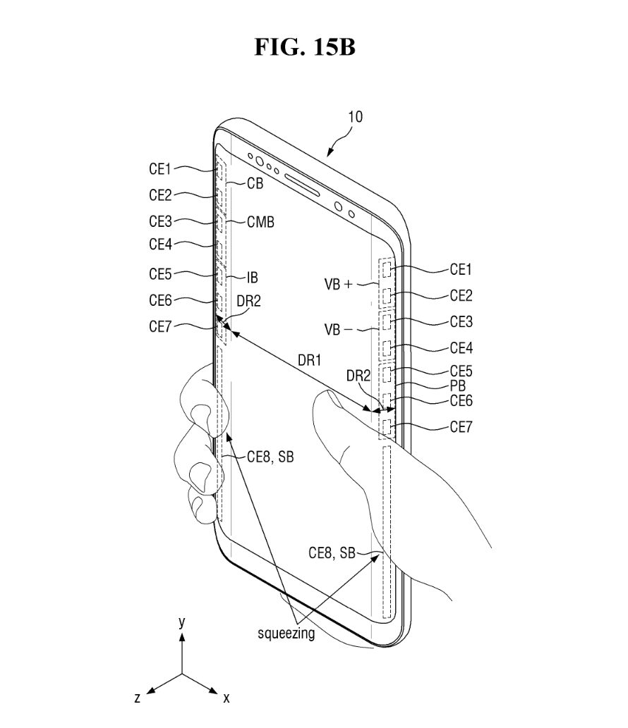
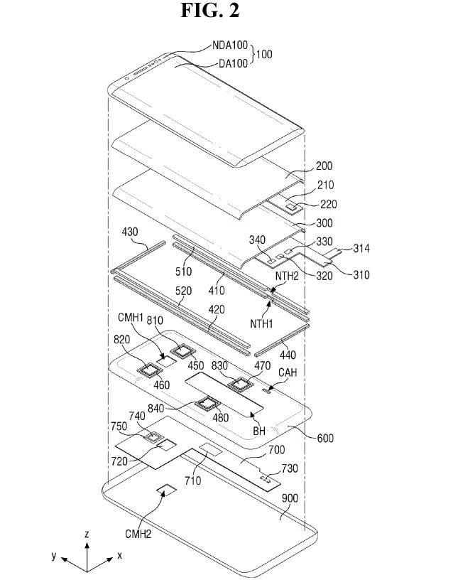
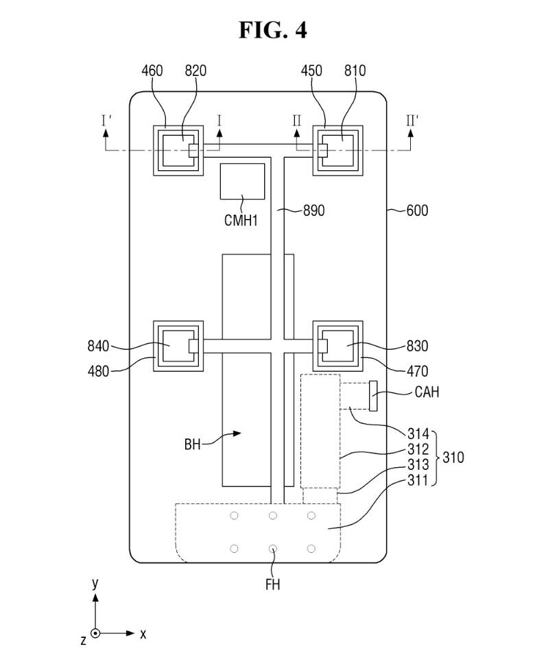
IT之家援引该媒体报道,该专利于 2023 年 2 月提交,于 2024 年 11 月获批,主要概述了一种触觉反馈系统,涵盖显示面板、触摸和压力传感器,以及分布在显示边缘的小型振动马达。


这些传感器和马达将提供精准的振动反馈,让设备能够仅在用户与屏幕互动的区域震动,这一设计旨在让用户感觉像是在按压物理按钮,从而增强使用三星智能手机的沉浸感。




三星希望通过引入精确的振动系统,不仅提升用户的使用体验,还可能在未来的产品中为用户提供更多的互动方式。
